Ajuste del varillaje del embrague de la TDF. Transmisión TSS (OOS)

IMPORTANTE: NO ajustar el varillaje del embrague de la TDF hasta medir que la ranura la cabina del operador, para determinar el procedimiento correcto. Si el procedimiento de ajuste se realiza incorrectamente, pueden producirse fallas prematuras en el rodamiento del embrague de la TDF. (Ver DETERMINACIÓN DEL PROCEDIMIENTO DE AJUSTE DEL VARILLAJE DEL EMBRAGUE DE LA TDF en este grupo).

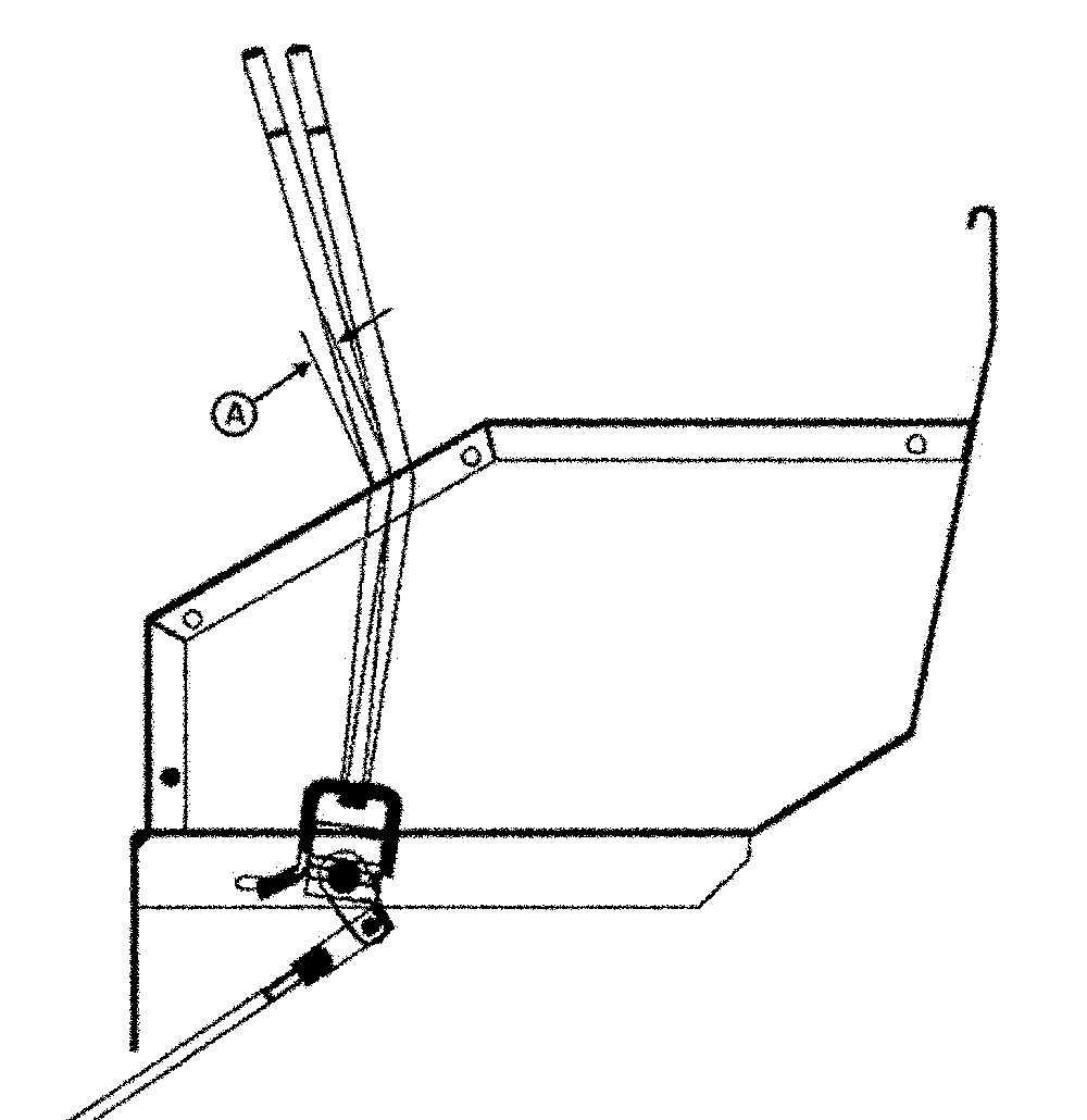
1. Mover la palanca de control hacia atrás hasta su posición desengranada.

2. Aflojar la tuerca de inmovilización (A).

3. Retirar el pasador ranurado (B) y el pasador (C).

IMPORTANTE: Si se aplica más de 5 lbs de fuerza, los dedos del embrague se someterán a presión y se producirá un ajuste del embrague inapropiado, lo que podría ocasionar daños en el embrague.

P10465


A-Tuerca de inmovilización
B-Pasador ranurado
C-Pasador

PX03972,00004AB -63-17APR08-1/4


4. Para eliminar la holgura, tirar del varillaje hacia atrás (en la dirección de la flecha) sin aplicar más de 5 lbs de fuerza hasta que se perciba cierta resistencia.

P10464

PX03972,00004AB -63-17APR08-2/4


5. Ajustar la horquilla (B) del vástago de la TDF hasta que los agujeros de la horquilla (B) y del brazo de engrane (A) queden alineados.

6. Conectar y desconectar la TDF cinco veces y asegurarse de que el pasador aún ingrese sin problemas. De lo contrario, reajustar la horquilla y alinear nuevamente los agujeros.

7. Colocar una marca en la horquilla y retirar el pasador.

8. Alargar el pasador y la horquilla girando la horquilla (B) 2,5 vueltas hacia la izquierda (TSS).

9. Instalar el pasador y el pasador ranurado.

10. Sujetar la horquilla y ajustar la tuerca de inmovilización.


A-Brazo de engrane
B-Horquilla

P10466

PX03972,00004AB -63-17APR08-3/4


11. Para verificar si el ajuste es el adecuado, revisar la holgura de la palanca de engrane de la TDF en la cabina del operador. La holgura (A) debería ser de aproximadamente 3 mm al medirla como se ilustra en la imagen.

P12390

PX03972,00004AB -63-17APR08-4/4