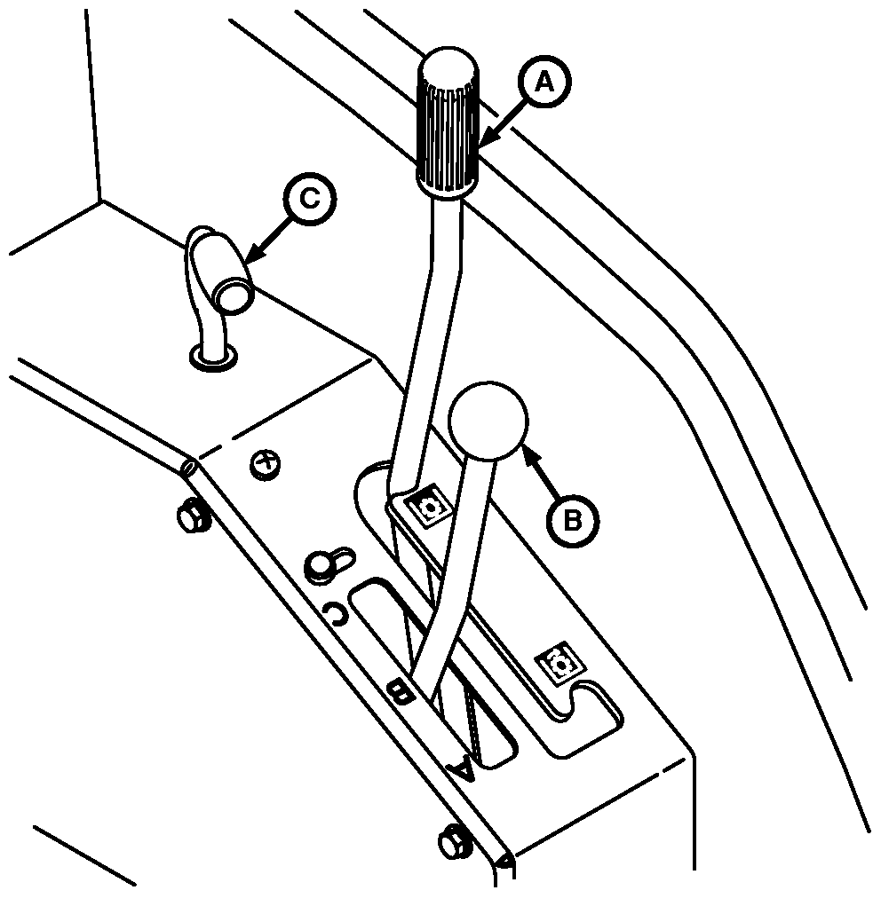
Mandos del tractor-Tablero izquierdo


A-Palanca de toma de fuerza (TDF)
B-Palanca de grupos de la transmisión
C-Palanca de tracción delantera mecánica (TDM) (si está equipado)

P9007

PX03972,0000541 -63-17DEC08-1/1