-

LV5095-UN-26JUN00

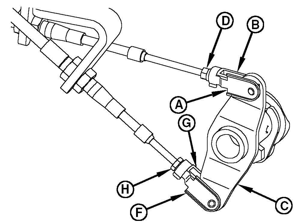
P13718-UN-09AUG05
OOS Shown, Cab Similar
A - Clip Pin
B - Clevis
C - Arm
D - Jam Nut
E - PTO 540/540E Speed Shift Lever
F - Clip Pin
G - Clevis
H - Jam Nut
Remove clip pin (A) and disconnect clevis (B) from speed
shift arm (C).
-
Shift PTO 540/540E speed shift lever (E) to the rearward position.
-
Turn speed PTO shift lever (E) to full rearward position (clockwise).
-
Loosen jam nut (D) and adjust clevis (B) so clip pin (A) aligns
with hole in clevis and arm (C). Install clip pin and tighten jam
nut (D).
-
Remove clip pin (F) and disconnect clevis (G) from speed shift
arm (C).
-
Start engine and increase engine rpm to 1850—1900 with
no load.
-
Loosen jam nut (H) and adjust clevis (G) so clip pin (F) aligns
with hole in clevis and arm (C). Install clip pin and tighten jam
nut (H).
-
Apply a load to PTO shaft and start engine. With the PTO 540/540E
speed shift lever in rearward position, push hand throttle forward
to stop. Tachometer should read 1700 rpm.
-

LV5096-UN-27JUN00
A - Jam Nut
B - Throttle Limiter
If engine speed IS NOT 1700 rpm, pull hand throttle back,
loosen jam nut (A), and adjust throttle limiter (B) until proper engine
speed is attained. If engine speed is above 1700 rpm, turn throttle
limiter clockwise. If engine speed is below 1700 rpm, turn throttle
limiter counterclockwise.
-
Push hand throttle forward to stop. Ensure engine speed is 1700
rpm. Repeat step 9 as necessary.
IMPORTANT: The 540 Economy is ideal for any PTO application
where full horsepower is not needed.
Overall operating
experience improves because there is less noise and vibration for
the operator.
For heavy-duty operations that require maximum PTO power use
only 540 PTO (Not 540E).
IMPORTANT: When using 540E PTO engine rpm should be within 1700
to 1900, operating above these rpm could damage some internal components
or implements.