Adjust PTO Clutch Operating Rod — OOS

P13170-UN-01SEP04

P14207-UN-23AUG06
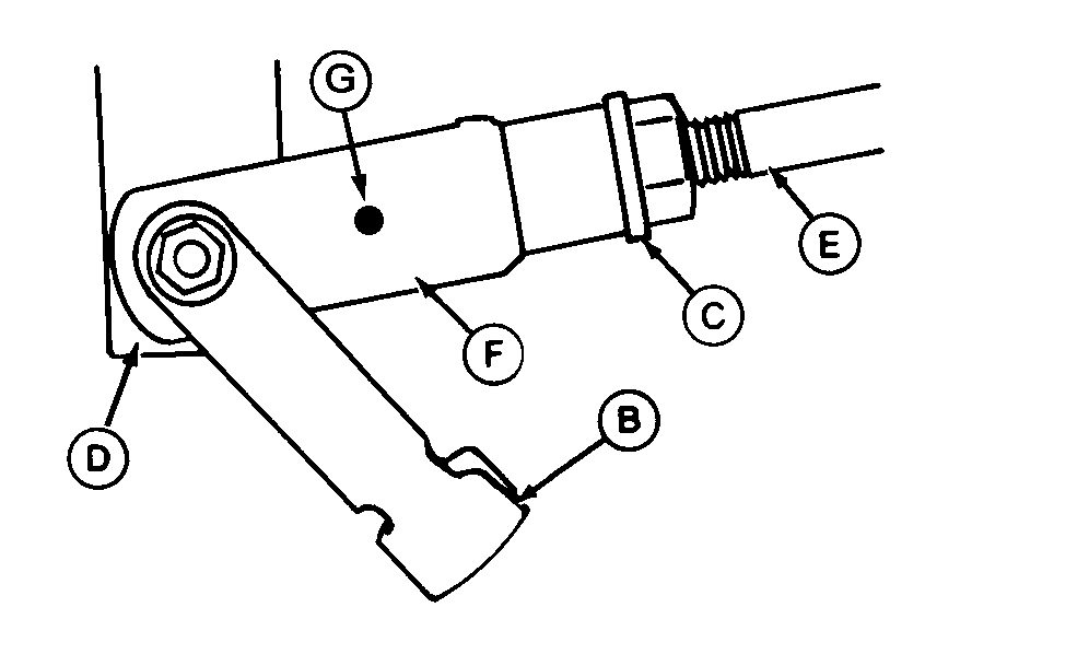
A - PTO Clutch Lever
B - Clip Pin
C - Jam Nut
D - Clutch Activation Lever
E - Rod
F - Clevis
G - Guide Mark
|
Service Interval — Every 50 hours (in case of constant use)
|
-
Disengage PTO lever (A) by pushing it all the way back.
-
Remove clip pin (B) from the linkage, at the clutch activation
lever (D) in the transmission housing.
-
Loosen the jam nut (C).
-
Push the clutch activation lever (D) towards tractor rear axle
softly, until resistance is felt.
-
Adjust length of linkage (E) so the yoke (F) lines up with the
clutch activator lever (D) hole.
-
Turn yoke (F) 1.5 turns to lengthen the linkage (E) and give free play to the lever.
NOTE: Mark the yoke (F) with a point, it helps to keep the count
of turns.
-
Install yoke (F) on clutch activation lever, installing clip
pin (B) and tighten jam nut (C).
|
|
MK41968,0000283-19-20071023
|
|