-

RW26898-UN-28MAR00
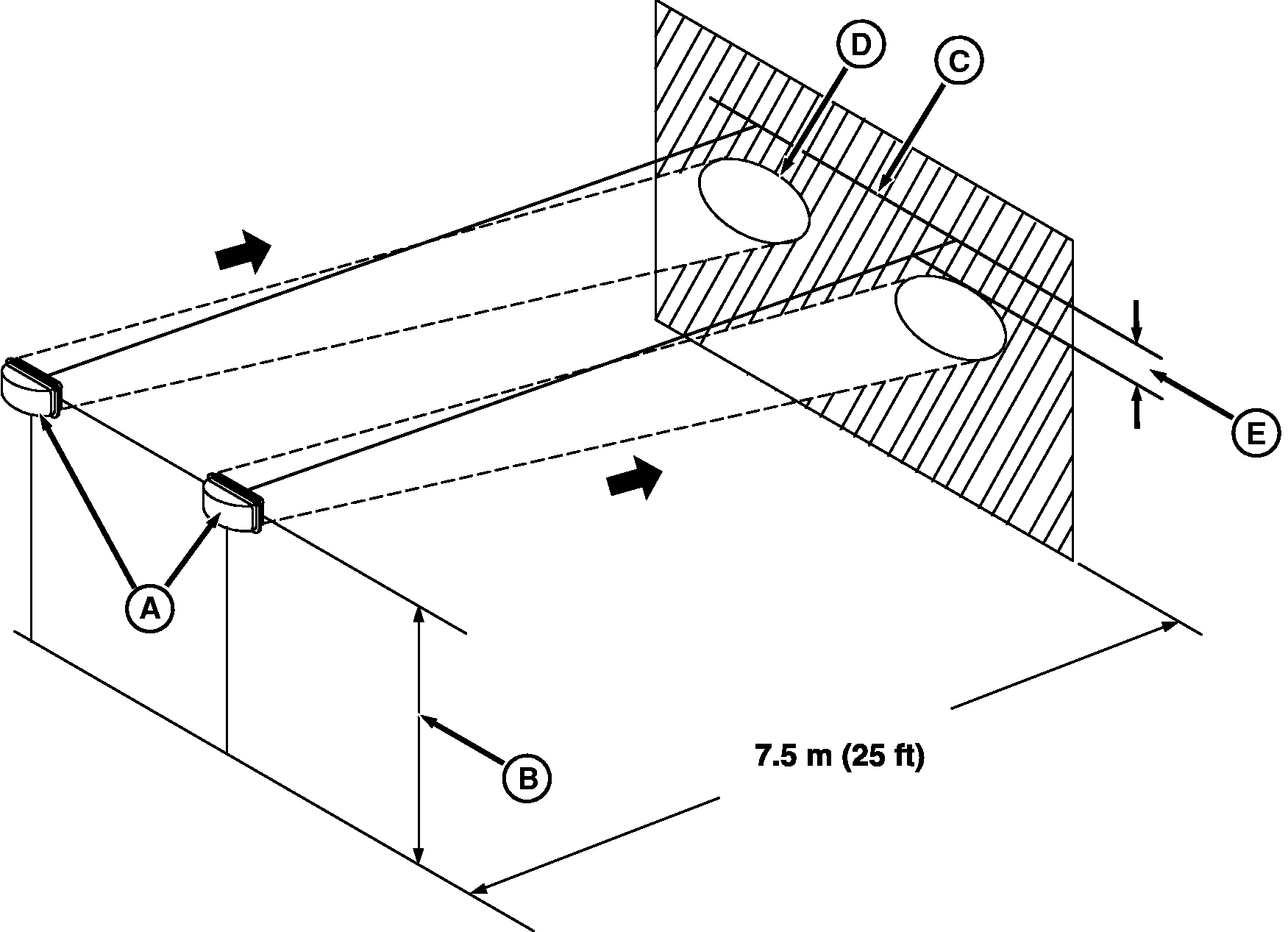
A - Headlights
B - Distance from Center of Headlight to Ground
C - Horizontal Line on Wall
D - Border of Bright Area
E - 10% of Distance (B)
Park tractor on a level surface with headlights (A) 7.5 meters
(25 ft) from a vertical wall.
-
Measure the distance (B) from the center of a headlight to the
ground.
-
Mark a horizontal line (C) on the wall, the same distance from
the ground as (B).
-
Set headlights on low beam and observe bright areas on the wall.
-
Adjust headlights so the upper border of bright area (D) is at least 10% of distance (B) below line (C).
NOTE:

LV9509-UN-03AUG04
Headlight

LV9547-UN-03AUG04
Loader Light — If Equipped
A - Screw
B - Screw
C - Screw
Adjustment procedure is the same for BOTH sides. Left-hand
side shown. If equipped with loader lights, remove back cover to access
adjustment screws.
Loader light (if equipped): Remove
back cover.
-
Raise/lower beam: Turn screws (A and
B):
-
Counterclockwise to lower beam
-
Clockwise to raise beam
-
Adjust beam IN toward center of tractor: Turn screw (A) counterclockwise and screws (B and C) clockwise an
equal number of turns on each screw.
-
Adjust beam OUT from center of tractor: Turn screws (B and C) counterclockwise and screw (A) clockwise an
equal number of turns on each screw.
Loader light (if equipped): Install
back cover.