Adjust 540E PTO Without Throttle Limiter (Synchronized Transmission Only) — If Equipped

Service Interval — As Required

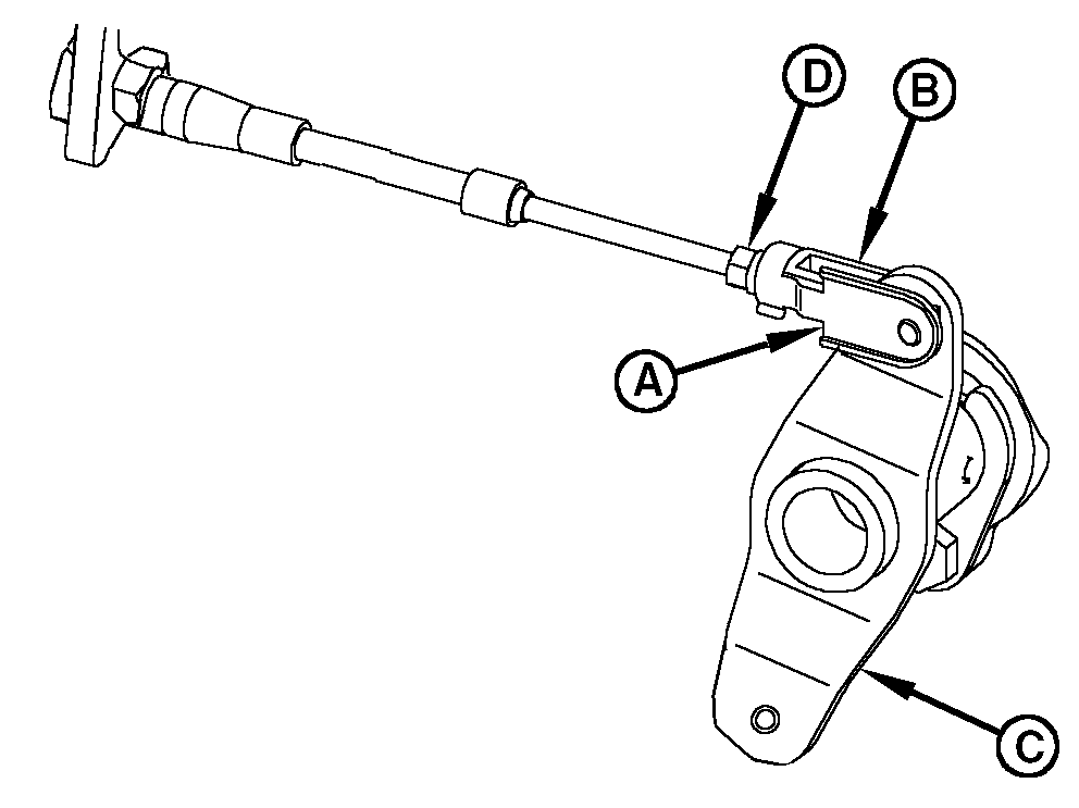
  1. P13718
    P13718-UN-09AUG05

    OOS Shown, Cab Similar

    P13718A
    P13718A-UN-23NOV05

    A - Clip Pin

    B - Clevis

    C - Arm

    D - Jam Nut

    E - PTO 540/540E Speed Shift Lever

    Remove clip pin (A) and disconnect clevis (B) from speed shift arm (C).



  2. Shift PTO 540/540E speed shift lever (E) to the rearward position.

  3. Turn speed PTO shift lever (C) to full rearward position (clockwise).

  4. Loosen jam nut (D) and adjust clevis (B) so clip pin (A) aligns with hole in clevis and arm (C). Install clip pin and tighten jam nut (D).

  5. Apply a load to PTO shaft and start engine. With the PTO 540/540E speed shift lever in rearward position, push hand throttle forward to stop. Tachometer should read 1700 rpm.

    IMPORTANT: The 540 Economy is ideal for any PTO application where full horsepower is not needed.

    Overall operating experience improves because there is less noise and vibration for the operator.

    For heavy-duty operations that require maximum PTO power use only 540 PTO (Not 540E).

    IMPORTANT: When using 540E PTO engine rpm should be within 1700 to 1900, operating above these rpm could damage some internal components or implements.

PX07220,0000076-19-20060128