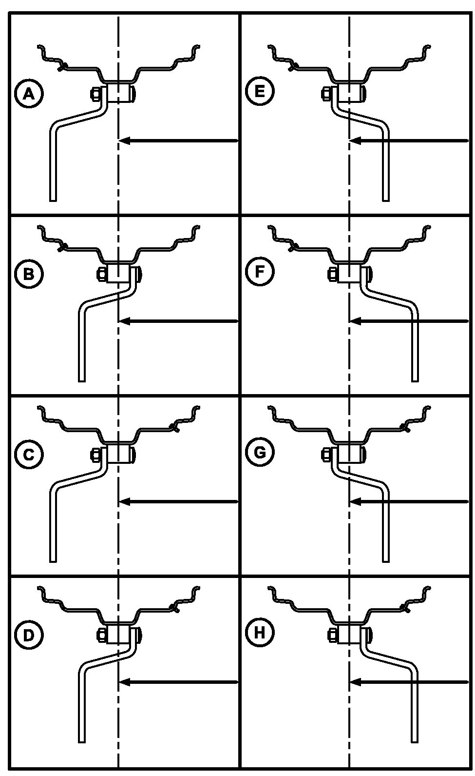
Positions of 4X4 Front Wheel Tread with Reversible Rims

CQ284228-UN-28MAY10
|
Tread Settings W8 X 24 Wheels
|
|
Front Tire
|
Mounting Position
|
Wheel Tread
|
|
9.5-24 R1
|
A
|
1276 mm (4.2 ft)
|
|
B
|
1395 mm (4.6 ft)
|
|
C
|
1370 mm ( 4.5ft)
|
|
D
|
1488 mm (4.9 ft)
|
|
E
|
1697 mm (5.6 ft)
|
|
F
|
1815 mm (6.0 ft)
|
|
G
|
1790 mm (5.9 ft)
|
|
H
|
1908 mm (6.3 ft)
|
|
Tread Settings W10 X 24 Wheels
|
|
Front Tire
|
Mounting Position
|
Wheel Tread
|
|
12.4-24 R1
|
A
|
1227 mm (4.0 ft)
|
|
B
|
1345 mm (4.4 ft)
|
|
C
|
1420 mm (4.6 ft)
|
|
D
|
1538 mm (5.0 ft)
|
|
E
|
1647 mm (5.4 ft)
|
|
F
|
1765 mm (5.8 ft)
|
|
G
|
1840 mm (6.0 ft)
|
|
H
|
1958 mm (6.4 ft)
|
NOTE: Mounting position setting A is not possible with wheel
tread W10 X 24.
|
Tread Settings W12 X 24 Wheels
|
|
Front Tire
|
Mounting Position
|
Wheel Tread
|
|
14.9-24 R2
|
A
|
1227 mm (4.0 ft)
|
|
B
|
1345 mm (4.4 ft)
|
|
C
|
1420 mm (4.6 ft)
|
|
D
|
1538 mm (5.0 ft)
|
|
E
|
1647 mm (5.4 ft)
|
|
F
|
1765 mm (5.8 ft)
|
|
G
|
1840 mm (6.0 ft)
|
|
H
|
1958 mm (6.4 ft)
|
NOTE: Mounting position settings A and B are not possible with
wheel tread W12 X 24.
|
Tread Settings W10 X 28 Wheels
|
|
Front Tire
|
Mounting Position
|
Wheel Tread
|
|
11.2-28 R1
|
A
|
1285 mm (4.2 ft)
|
|
B
|
1400 mm (4.6 ft)
|
|
C
|
1378 mm (4.5 ft)
|
|
D
|
1493 mm (4.9 ft)
|
|
E
|
1689 mm (5.5 ft)
|
|
F
|
1804 mm (5.9 ft)
|
|
G
|
1782 mm (5.8 ft)
|
|
H
|
1897 mm (6.2 ft)
|
NOTE: Mounting position setting A is not possible with wheel
tread W10 X 28.
|
|
MB85214,000020E-19-20110219
|
|