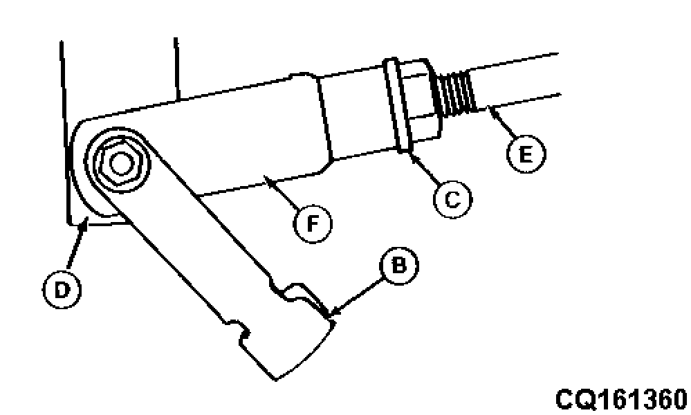
Adjusting Drive Rod of PTO Clutch

CQ283696-UN-23DEC09

CQ161360-UN-03NOV98
-
Position PTO lever (A) backwards (disengaged position)
-
Remove pin (B) from front rod end of PTO clutch.
-
Loosen locknut (C) from rear part of front yoke (F).
-
Adjust rod length (E) so as to eliminate play.
Increase rod length turning yoke (F) by half, so as to provide
a small play for the lever.
This leaves the clutch bearing free when it is not engaged.
-
Reinstall pin (B) to yoke (F) and arm (D).
-
Make sure there are an equal quantity of threads on each rod
end of the PTO clutch. The rear part of the lock nut can be loosened
and the rod turned to even the number of threads (this does not affect
the PTO adjustment).
-
Retighten lock nuts (C) on each rod end.
|
|
OU31386,00000A1-19-20091210
|
|