Mantenerse alejado de los ejes de transmisión giratorios

TS1644-UN-22AUG95

H96219-UN-29APR10
Se pueden sufrir lesiones graves o mortales al ser atrapado
por el eje de transmisión.
Durante el funcionamiento de dichos ejes la protección
de la TDF del tractor y las protecciones de ejes o árboles
deben estar siempre montadas correctamente. Asegúrese que las
protecciones giren libremente.
Use ropa ceñida. Parar el motor y asegurarse de que el
eje de transmisión de la TDF se haya detenido antes de efectuar
ajustes, acoplamientos o antes de limpiar el equipo acoplado a la
TDF.
Entre la TDF del tractor y el eje de transmisión del
accesorio no instalar ningún adaptador que permita a un tractor
con TDF de 1000 r/min accionar un accesorio destinado para trabajar
como máximo a 540 r/min a un régimen superior al permitido
(540 r/min).
No instalar un adaptador que deje sin proteger una parte del
eje giratorio del accesorio, del eje del tractor o del mismo adaptador.
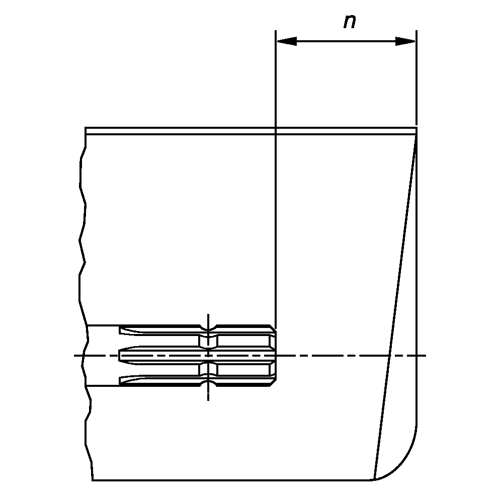
La protección del tractor debe cubrir el extremo del eje
estriado y el adaptador acoplado, como se especifica en la tabla.
|
Tipo de TDF
|
Diámetro
|
Estriado
|
n ± 5 mm (0.20 in.)
|
|
1
|
35 mm (1.378 in.)
|
6
|
85 mm (3.35 in.)
|
|
2
|
35 mm (1.378 in.)
|
21
|
85 mm (3.35 in.)
|
|
3
|
45 mm (1.772 in.)
|
20
|
100 mm (4.00 in.)
|
|