Ajustar los faros
-

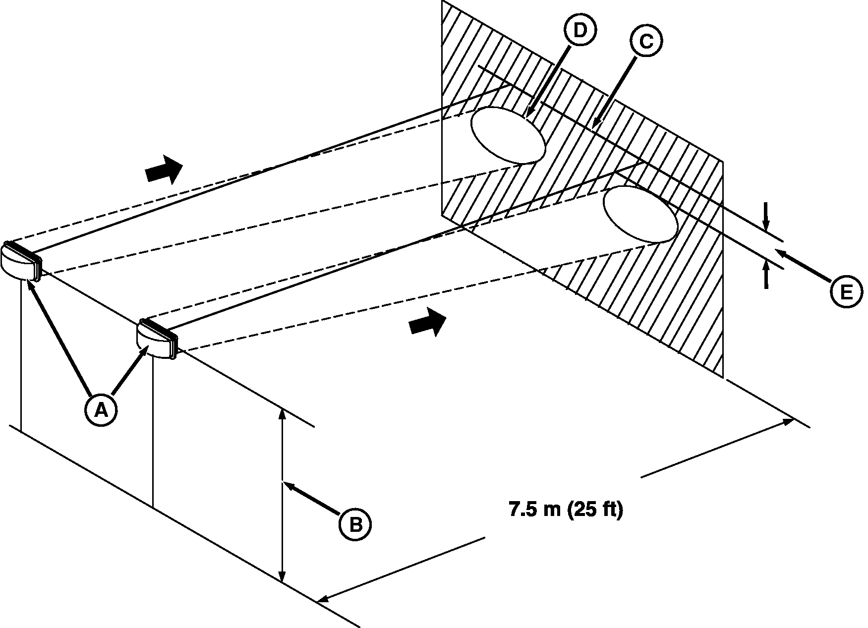
RW26898-UN-28MAR00
A - Faros principales
B - Distancia del centro del faro al suelo
C - Línea horizontal en la pared
D - Borde del área brillante
E - 10% de distancia (B)
Estacionar el tractor en una superficie nivelada con faros
(A) a 7.5 metros (25 ft) de una pared vertical.
-
Medir la distancia (B) del centro de un faro al suelo.
-
Hacer una marca horizontal (C) en la pared, a la misma distancia
que el suelo (B).
-
Poner los faros en luces bajas y observar las áreas brillantes
en la pared.
-
Ajustar los faros para que el borde superior del área
brillante (D) esté por lo menos a
10% de distancia (B) abajo de la línea
(C).
|
|
PX07220,000140B-63-20100223
|
|