Ajuste del vástago accionador del embrague de la TDF

P16398-UN-09JAN12

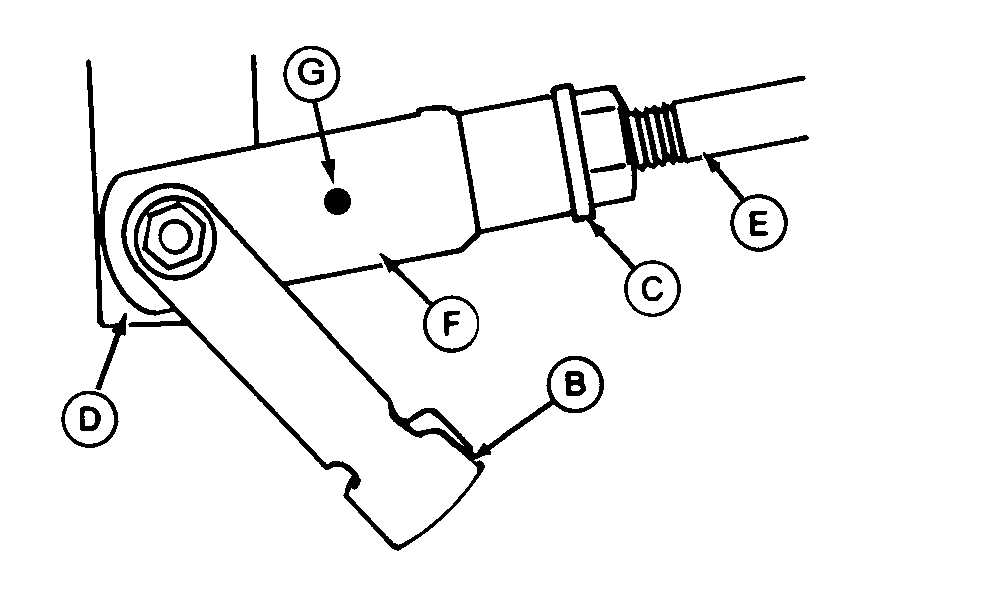
P14207-UN-23AUG06
A - Palanca del embrague de la TDF
B - Pasador de retención
C - Tuerca de fijación
D - Palanca de accionamiento del embrague
E - Vástago
F - Horquilla
G - Marca
|
Intervalo de mantenimiento — Cada 50
horas (en caso de funcionamiento continuo)
|
-
Desconecta la palanca de la TDF (A) empujándola hacia
atrás del todo.
-
Quite el pasador de retención (B) del varillaje en la
palanca de mando del embrague (D) en la caja de cambios.
-
Afloje la tuerca de fijación (C).
-
Empuje la palanca de mando del embrague (D) ligeramente hacia
atrás hasta sentir cierta resistencia.
-
Ajuste la longitud del varillaje (E) de modo que la horquilla
(F) quede alineada con el agujero perforado en la palanca de mando
del embrague (D).
-
Gire la horquilla (F) 1,5 vueltas hasta que el varillaje (E)
esté EXTENDIDO y la palanca tenga
holgura libre.
NOTA: Gire la horquilla (F) con un punto para poder contar el
número de vueltas.
-
Instale la horquilla (F) en la palanca de mando del embrague
colocando el pasador (B) y apretando la tuerca (C).
|
|
PX07220,00015EE-63-20120110
|
|