Inspect ROPS for Loose Hardware

P10072-UN-05FEB01
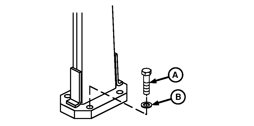
A - Mounting Bolt (8 used)
B - Flat Washer (8 used)
|
Service Interval—250 Hours
|
CAUTION: Make certain all parts are installed correctly if ROPS
is loosened or removed for any reason. Tighten mounting bolts to proper
torque. The protection offered by ROPS will be impaired
if ROPS is subjected to structural damage, as in an overturn incident,
or is in any way altered by welding, bending, drilling, or cutting.
A damaged ROPS should be replaced, not reused. Any alteration to the
ROPS must be approved by the manufacturer.
Check torque values on all ROPS mounting hardware.
| Item | Measurement | Specification |
|
ROPS Mounting Bolts | Torque | 610 N˙m (450 lb-ft) |
NOTE: When installation of equipment on a machine requires loosening
or removing Roll Over Protective Structure (ROPS), new mounting bolts
and washers must be used and tightened to specification upon re-installation.
|
|
CP00834,0001E9D-19-20160511
|
|