-
Ballast tractor correctly.
-
Cab: Clean windows and adjust rear-view
mirrors.
-
Use foot throttle instead of hand throttle.
-
CAUTION:

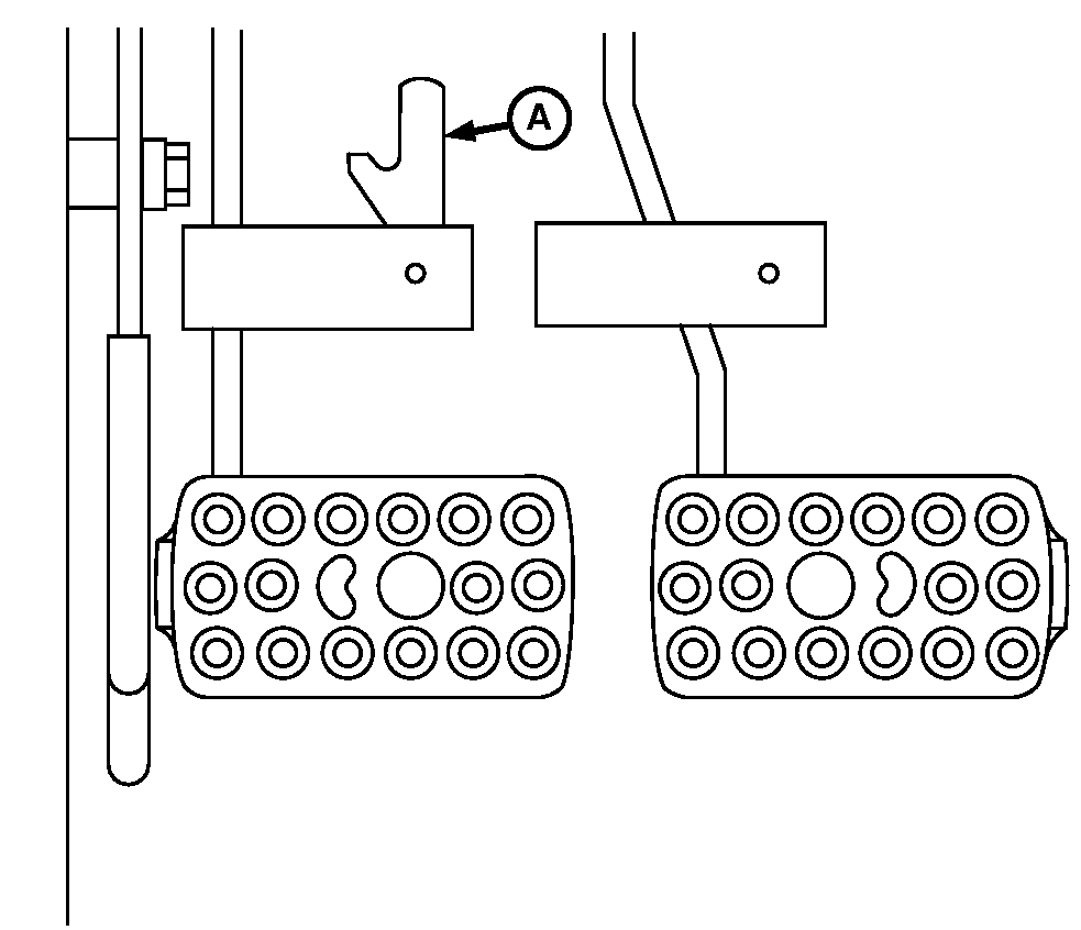
P9915-UN-13NOV00
A - Brake Pedal Locking Bar
Before operating tractor on a road, lock brake pedals together.
Use brakes lightly and cautiously at transport speeds.
IMPORTANT: To prevent unnecessary wear, never “ride”
the brakes by resting a foot on the pedals.
Couple brake pedals together using brake pedal locking bar (A).
Avoid hard application of brakes. Reduce speed if towed load weighs
more than the tractor and is not equipped with brakes. (Consult implement
operator's manual for recommended transport speeds.)
Use additional caution when transporting towed loads under adverse
surface conditions and when turning or braking on inclines. Be sure
wheel tread is adjusted wide to provide maximum stability.
-

PY13412-UN-24JUL15
OOS

PY15185-UN-22JUN12
Cab

PY13361-UN-23JUN15

PY15187-UN-22JUN12
A - SMV Emblem
B - Warning Lights
C - Tail/Warning Lights
D - Turn Signal Lever
E - Road Lights
F - High/Low Beam Switch
Check local laws and regulations for lighting requirements.
Clean Slow Moving Vehicle (SMV) emblem (A), warning lights (B) and
tail/warning lights (C). If towed or rear-mounted equipment obstructs
view of safety devices, install SMV emblem and warning lights on equipment.
(See your John Deere dealer.)
A seven-terminal outlet at rear of tractor supplies power to
warning lights on towed or rear-mounted equipment. (See description
of outlet in Electrical and Lighting Operation section.)
-
MFWD (if equipped): To reduce tire
wear, disengage front wheel drive.
-
Loader Cylinders (if equipped): Engage
transport lock to eliminate possibility of loader movement during
transport by inadvertently bumping the multi-function control lever.
-
Rear Hitch: Lock hitch in transport position to eliminate the
possibility of lowering an implement during transport by inadvertently
bumping the raise/lower lever.
-
Use turn signal lever (D) when turning. Return lever to center
position after turning.
-
Turn light switch to position (E).
-
Move switch (F) to low beam position (down) when meeting another
vehicle. Never use floodlights or any lights which could blind or
confuse other drivers.
-
Drive slowly to maintain safe control. Before descending a hill,
shift to a gear low enough to control speed without using brakes.
Slow down for rough ground and sharp turns, especially when transporting
heavy, rear-mounted equipment.