Álljon távol a forgó tengelyektől

TS1644-UN-22AUG95

H96219-UN-29APR10
Felcsavarodva rá, a forgótengely súlyos
balesetet, vagy halált okozhat.
Mindig tartsa a helyén a traktor védőburkolatait
és a hajtótengely burkolatát. Győződjön
meg arról, hogy a TLT hajtótengely burkolata szabadon
el tud-e fordulni.
Viseljen mindig zárt ruházatot. Mielőtt
beállítást végezne a gépen, csatlakoztatná
azt, vagy a TLT-hajtású munkagép tisztításához
fogna, állítsa le a motort és győződjön
meg róla, hogy a TLT hajtás megállt-e.
Ne tegyen fel semmilyen adaptert a traktor és az elsődleges
munkagép TLT hajtó tengely közé, mely lehetővé
teszi az 1000 ford./perc traktor hajtótengely 540 ford./percnél
magasabb fordulalattal való hajtását egy 540
ford./perces hajtású gépnél.
Ne tegyen fel semmilyen adaptert mely azt eredményezné,
hogy a forgó munkagép tengely, traktor tengely vagy
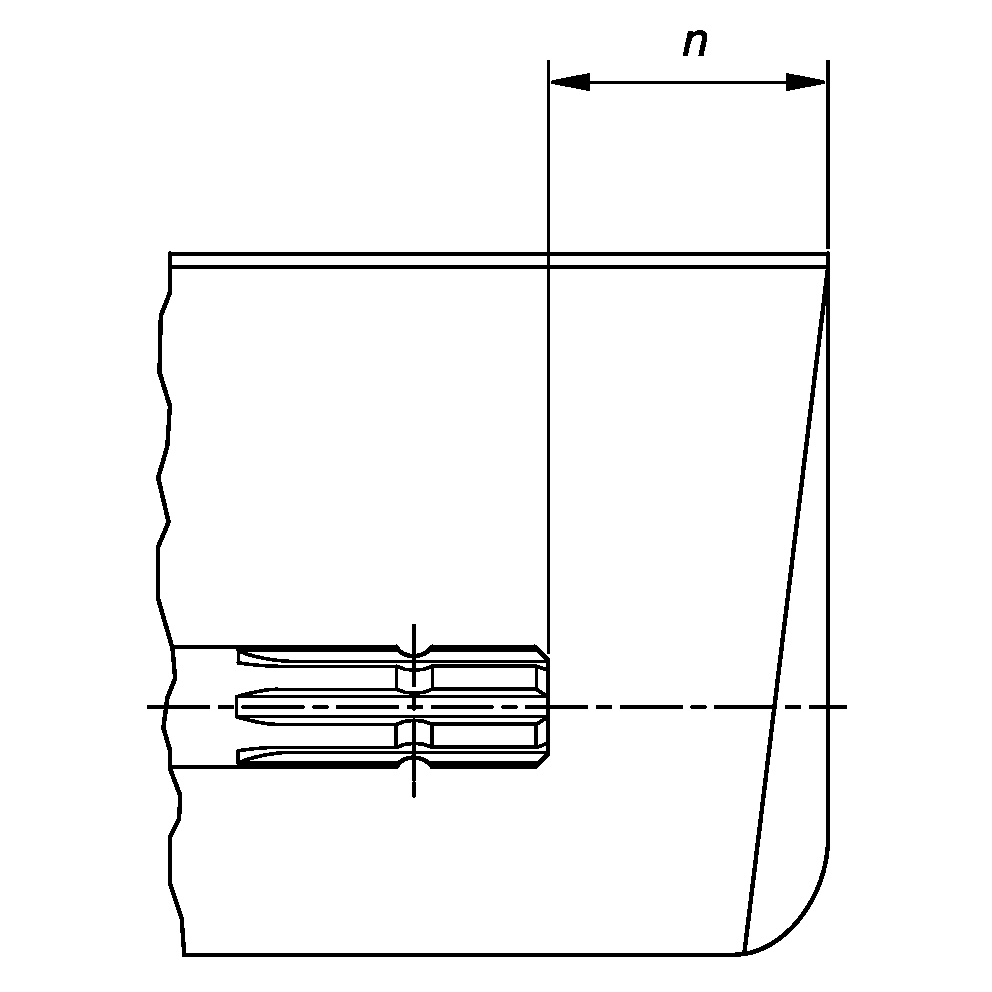
az adapter részben fedetlen maradna. A traktor védőburkolatnak
fedésben kell lennie a bordás tengelycsonk végével
és a feltett adapterrel a táblázatban megadottak
szerint.
|
TLT típus
|
Átmérő
|
Bordák
|
n ± 5 mm (0,20 in.)
|
|
1
|
35 mm (1,378 in.)
|
6
|
85 mm (3,35 in.)
|
|
2
|
35 mm (1,378 in.)
|
21
|
85 mm (3,35 in.)
|
|
3
|
45 mm (1,772 in.)
|
20
|
100 mm (4,00 in.)
|
|