A fényszóróizzók cseréje
VIGYÁZAT: A halogén izzók nyomás alatt lévő
gázt tartalmaznak. Ha nem megfelelően kezeli az égőt,
az szétrobbanhat. (Lásd A halogén izzók
biztonságos kezelése részt ebben a fejezetben.)
-

LV14699-UN-25AUG11

LV9511-UN-01AUG04

LV9512-UN-01AUG04
A - Vezeték csatlakozója
B - Porvédő gumiharang
C - Rögzítőrugó
D - Lámpaizzó
Nyissa fel a motorháztetőt.
-
Kösse le a vezeték csatlakozóját (A).
-
Távolítsa el a porvédő gumiharangot
(B).
-
Oldja a rögzítőrugót (C) és
távolítsa el a lámpaizzót (D).
-
Helyezze be az új izzót a kiszereléssel
ellentétes módon.
-
Állítsa be a fényszórót,
ha szükséges.
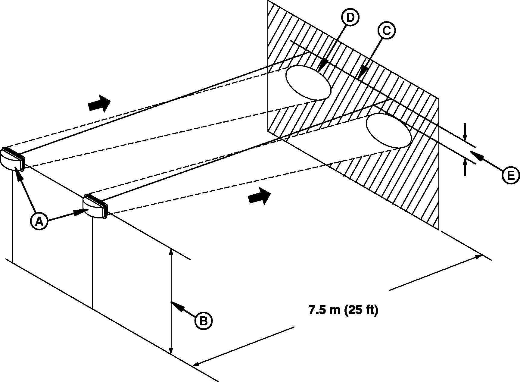
A fényszóró beállítása
-

PULV000659-UN-05MAY08
Fényszóró beállító
ábra
A - Fényszórók
B - A fényszóró közepe és
a talaj közötti távolság
C - Vízszintes vonal a falon
D - A fényes terület határa
E - A távolság (B) 10%-a
Álljon a traktorral vízszintes területre
úgy, hogy a fényszóró (A) 7,5 m-re (25
ft) legyen egy függőleges faltól.
-
Mérje meg a fényszórók közepe
és a talaj közötti távolságot (B).
-
Húzzon egy vízszintes vonalat (C) a falra, a talajtól
a (B) távolsággal azonos magasságra.
-
Kapcsolja a fényszórókat tompított
fényre és figyelje meg a fényes területet
a falon.
-
Használja a lámpák hátulján
lévő csavarokat a beállításhoz.
|
|
JZ81662,0000EA4-35-20120830
|
|