Ersetzen der Glühbirne des Halogenscheinwerfers

LV14699-UN-25AUG11

LV9511-UN-01AUG04

LV9512-UN-01AUG04
A - Kabelbaumstecker
B - Staubschutzmanschette
C - Sicherungsfeder
D - Glühbirne
ACHTUNG: Halogenbirnen enthalten ein Gas, das unter Druck steht.
Durch falsche Handhabung kann die Glühbirne zerbrechen und es
können Glassplitter weggeschleudert werden. Siehe "Sicherer Umgang
mit Halogenglühbirnen" in diesem Abschnitt.
-
Motorhaube öffnen.
-
Den Kabelbaumstecker (A) abnehmen.
-
Staubschutzmanschette (B) entfernen.
-
Sicherungsfeder (C) aushaken und Glühbirne (D) entfernen.
-
Die neue Glühbirne in umgekehrter Reihenfolge wie beim
Ausbau einbauen.
-
Fahrscheinwerfer nach Bedarf einstellen.
Einstellen der Fahrscheinwerfer

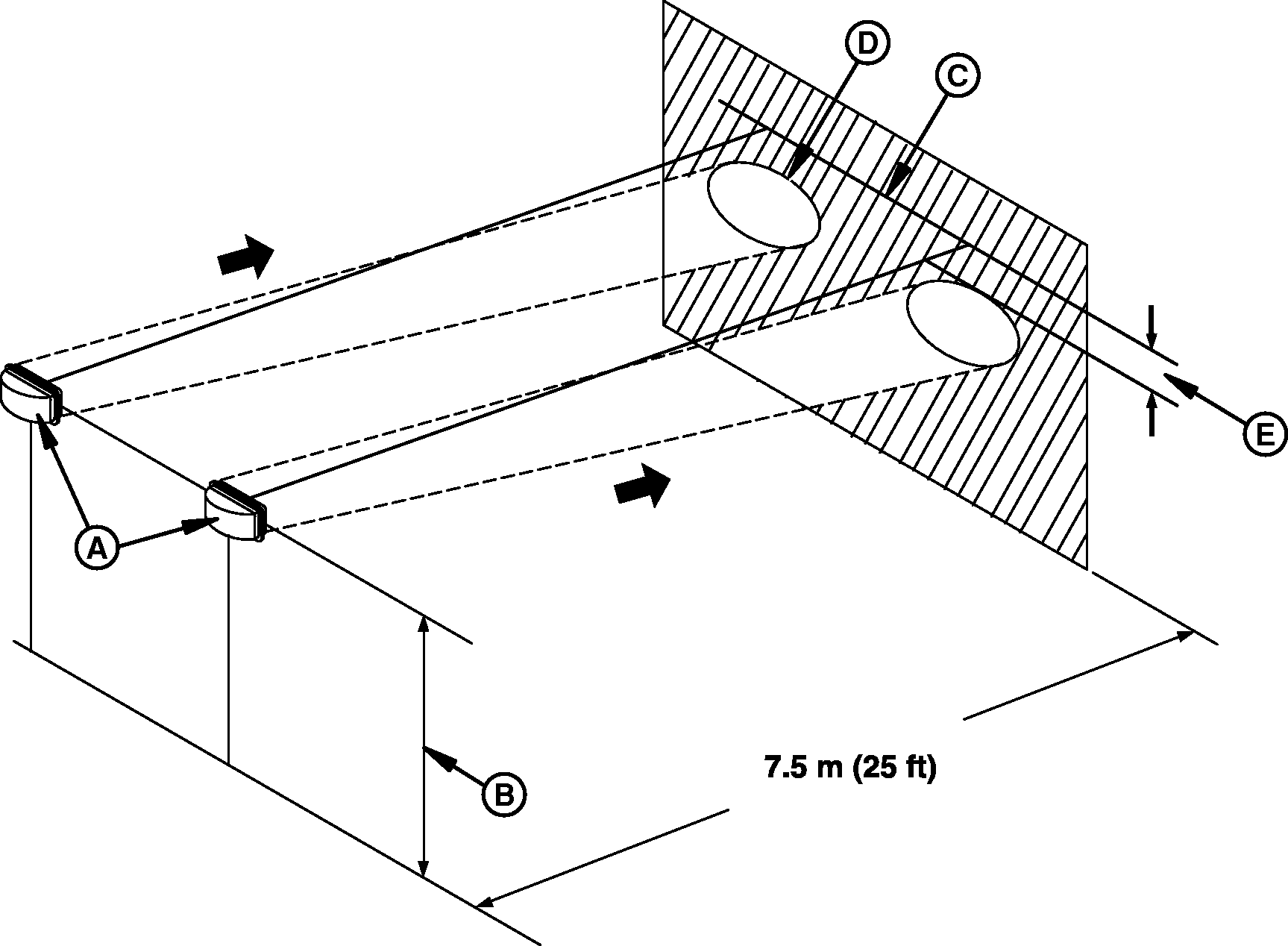
PULV000659-UN-05MAY08
Richtdiagramm für Fahrscheinwerfer
A - Fahrscheinwerfer
B - Abstand von Scheinwerfermitte zum Boden
C - Horizontale Linie an der Wand
D - Umriss des hell beleuchteten Bereichs
E - 10 % des Abstands (B)
-
Maschine so auf einer waagerechten Fläche abstellen, dass
die Scheinwerfer (A) einen Abstand von 7,5 m (25 ft) zu einer senkrechten
Wand haben.
-
Den Abstand (B) zwischen der Scheinwerfermitte und dem Boden
messen.
-
An der Wand eine waagrechte Linie (C) auftragen, die denselben
Abstand zum Boden aufweist wie das Maß von (B).
-
Scheinwerferschalter auf Abblendlicht stellen und helle Bereiche
auf der Wand beobachten.
-
Zur Einstellung die Schrauben an der Rückseite der Scheinwerfer
verwenden.
|
|
DP51502,0002562-29-20161006
|
|