Towing

IMPORTANT: Engine cannot be started by towing. Damage to transmission may result. DO NOT tow machine faster than 10 km/hr (6 mph) or any longer than one hour.

Towing IS NOT recommended. If you MUST tow machine, use the following procedure:

1. Turn engine OFF.

causym CAUTION: Prevent possible injury or death from unexpected machine movement. Block wheels to prevent machine movement before disengaging park brake.

2. Block tires securely.

3. Attach towing machine and towed machine as closely together as possible with chains.

4. If your machine is equipped with mechanical front wheel drive (MFWD), remove the front axle drive shaft.

5. Move FNR/range lever to NEUTRAL.

OUO1079,00002B0 -19-23OCT00-1/3


causym CAUTION: Prevent possible injury or death from unexpected machine movement. Release the park brake only through the access hole in floor of operator's station.

6. Remove front half of rubber mat from floor of operator's station. Remove cap screws (A) and cab floor access plate (B).


A-Cap Screw (4 used)
B-Cab Floor Access Plate

T132861B

OUO1079,00002B0 -19-23OCT00-2/3


IMPORTANT: To avoid damage to park brake assembly from heat build-up, park brake must be manually disengaged.

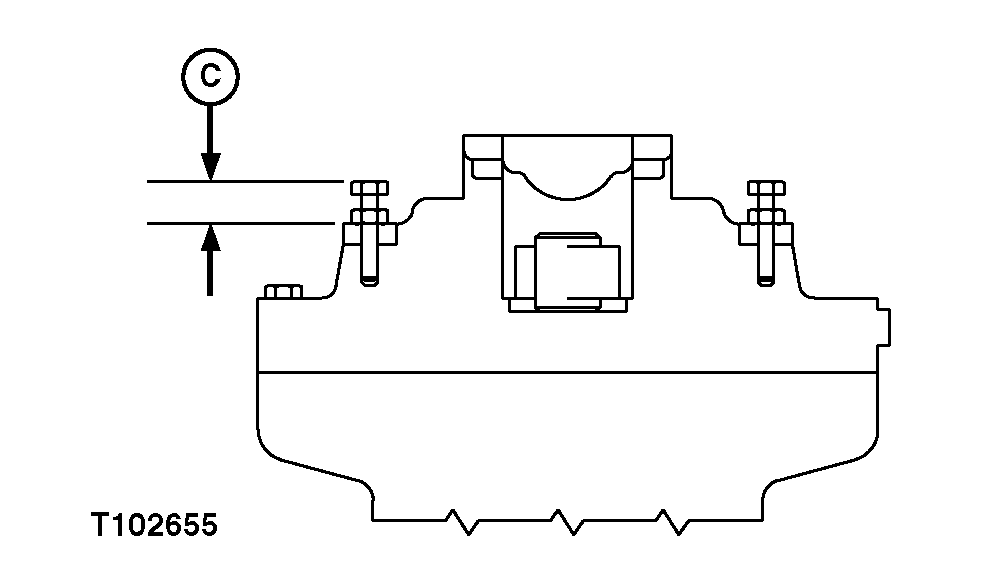
7. Release park brake manually for towing. Loosen hex nuts (B) and turn both park brake adjustment cap screws (A) completely in.

8. Remove blocks from tires and tow machine.

9. When towing is completed, block tires and engage park brake to hold machine. Turn both park brake adjustment cap screws out to specification (C) as illustrated.

Specification

Park Brake Adjustment Cap Screw-to-Park Brake Housing -Distance 27 + 1 mm (1.06 + 0.04 in.)

10. Tighten hex nuts to lock cap screws in position.

11. Install central floor access plate and rubber floor mat.

12. Install front axle drive shaft, if removed.

T132351B
T102655


A-Park Brake Adjustment Cap Screw (2 used)
B-Hex Nut (2 used)
C-Specification

OUO1079,00002B0 -19-23OCT00-3/3