Checking and Adjusting Toe-In

T6159AC
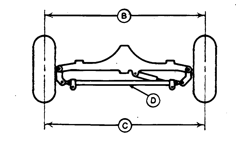
T6157AF


A-Center of Hub
B-Front of Tire
C-Rear of Tire
D-Tie Rod Tube
E-Tie Rod Clamp
F-Nuts
G-Rod End

1. Measure distance from ground to center of hub (A) and make a mark on front (B) and rear (C) of each front tire in center of tread.

2. Measure distance between front marks (B).

3. Measure distance between rear marks (C).

4. The distance between front marks must be less than distance between rear marks by the following amount.

Specification

Toe-In Measurement -Standard Axle Distance between (B) and (C) 6 ± 3 mm (1/4 ± 1/8 in.)
MFWD Axle Distance between (B) and (C) 3 ± 3 mm (1/8 ± 1/8 in.)

Machines Without Mechanical Front Wheel Drive:

1. To adjust toe-in, loosen both tie rod clamps (E) and turn tie rod tube (D).

2. Turn clamps so that cap screws are toward rear of machine and tipped down approximately 45°.

3. Tighten clamp cap screws to specification.

Specification

Toe-In Tie Rod Clamp Cap Screws -Torque 95 ± 14 N·m (70 ± 10 lb-ft)

Machines With Mechanical Front Wheel Drive:

1. To adjust toe-in, loosen nuts (F).

T6162AT

Non-MFWD

T103499

MFWD

TX,90,BD2189 -19-19NOV99-1/2


2. Turn rod end (G) to get proper toe-in.

3. Adjust toe-in equally on both tie rods.

4. Tighten nuts to specification.

Specification

Toe-In Tie Rod Nuts -Torque 50 N·m (35 lb-ft)

TX,90,BD2189 -19-19NOV99-2/2