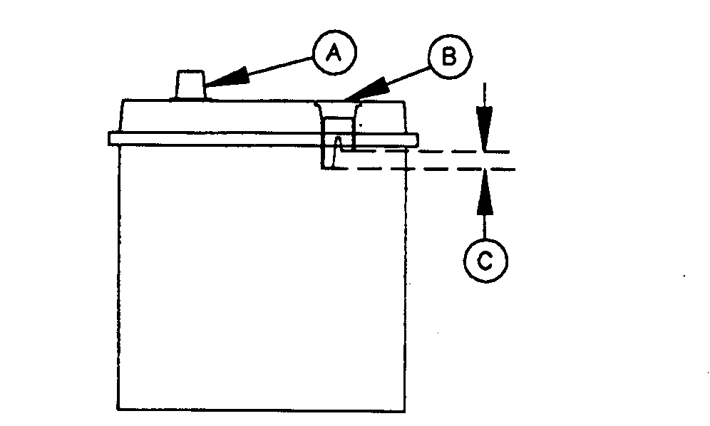
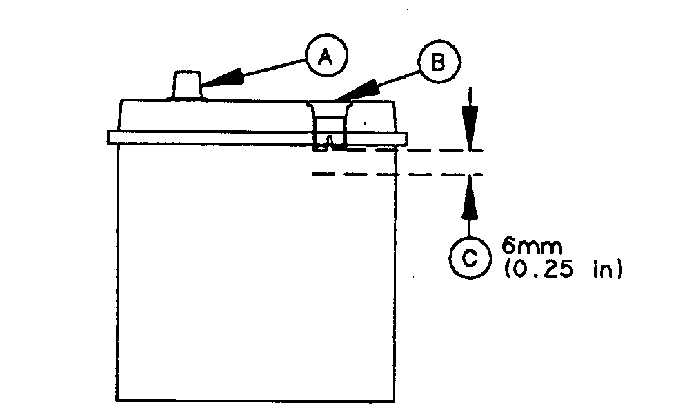
Check Battery Electrolyte Level and Terminals


A-Battery Post
B-Fill Tube
C-Electrolyte Level Range

TS203
T6996DB
T6996DA

CED,OUO1032,2877 -19-05FEB00-1/3


causym CAUTION: Battery gas can explode. Keep sparks and flames away from batteries. Use a flashlight to check battery electrolyte level.

NEVER check battery charge by placing a metal object across the posts. Use a voltmeter or hydrometer.

ALWAYS remove grounded (-) battery clamp first and replace it last.

Sulfuric acid in battery electrolyte is poisonous. It is strong enough to burn skin, eat holes in clothing, and cause blindness if splashed into eyes.

Avoid the hazard by:

1. Filling batteries in a well-ventilated area.
2. Wearing eye protection and rubber gloves.
3. Avoiding breathing fumes when electrolyte is added.
4. Avoiding spilling or dripping electrolyte.
5. Use proper jump start procedure.

If you spill acid on yourself:

1. Flush your skin with water.
2. Apply baking soda or lime to help neutralize the acid.
3. Flush your eyes with water for 15-30 minutes. Get medical attention immediately.

If acid is swallowed:

1. Do not induce vomiting.
2. Drink large amounts of water or milk, but do not exceed 1.9 L (2 quarts).
3. Get medical attention immediately.

IMPORTANT: If water is added to batteries during freezing weather, batteries must be charged after water is added to prevent batteries from freezing. Charge battery using a battery charger or by running the engine.

1. Fill each cell to within specified range with distilled water. DO NOT overfill.

causym CAUTION: Prevent possible injury. ALWAYS remove grounded (-) battery clamp first and replace it last.

2. Disconnect battery clamps, grounded clamp first.

CED,OUO1032,2877 -19-05FEB00-2/3


3. Clean battery terminals (A) and clamps with a stiff brush.

4. Apply lubricating grease (B) around battery terminal base only.

5. Install and tighten clamps, grounded clamp last.


A-Battery Terminals
B-Lubricating Grease

T6758AA

CED,OUO1032,2877 -19-05FEB00-3/3