Inspect Machine Daily Before Starting

Do periodic service checks in Maintenance-10 Hours or Daily chapter.

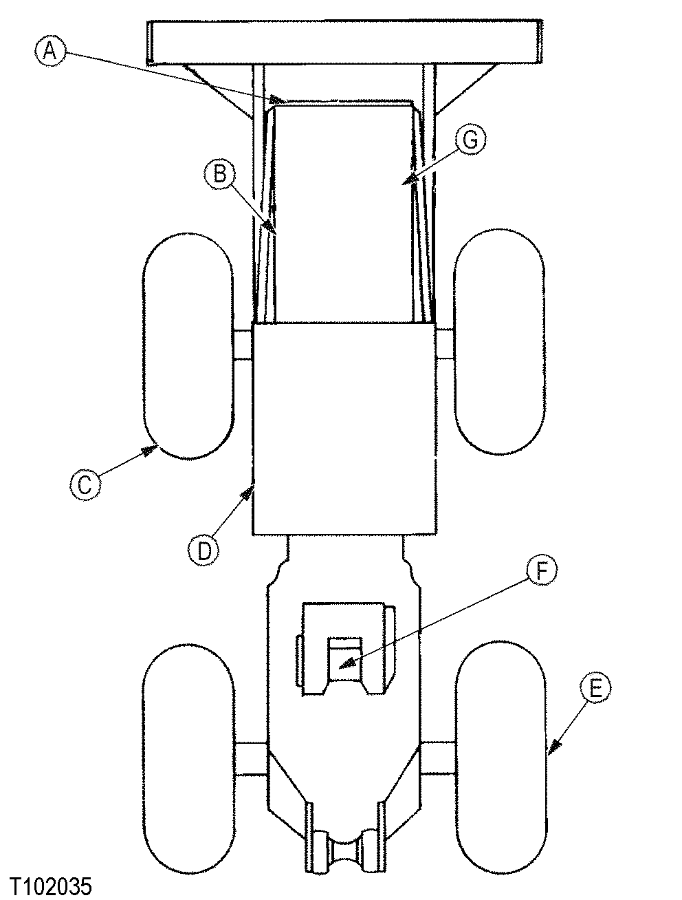
Clean grille (A).

Clean engine side shields (B).

Check front and rear tires (C).

Clean operator's station (D).

Check front and rear wheels (E) for loose or missing hardware.

Check condition of winch cable (F).

Check fuel filters (G) in engine compartment.

ELECTRICAL SYSTEM: Check for worn or frayed wires and loose connections.

BLADE, FAIRLEAD, OR GRAPPLE SHEET METAL: Check for bent, broken, or missing parts.

HARDWARE: Check for loose or missing parts.

PARK BRAKE: Check for correct operation.

FUEL SYSTEM: Drain water from fuel filters and fuel tank sump.

HYDRAULIC SYSTEM: Check for leaks, missing or loose clamps, kinked hoses, or hoses that rub against each other or other parts.

LUBRICATION: Check lubrication points, and service as required.

PROTECTIVE DEVICES: Check guards, canopy, shields, ROPS, seat belt, reverse warning alarm and fire extinguisher.

SAFETY: Walk around machine to clear all persons from machine area before starting machine.

T102035


A-Grille
B-Engine Side Shields
C-Tires
D-Operator's Station
E-Wheels
F-Winch Cable
G-Fuel Filters

CED,OUO1079,116 -19-05APR00-1/1