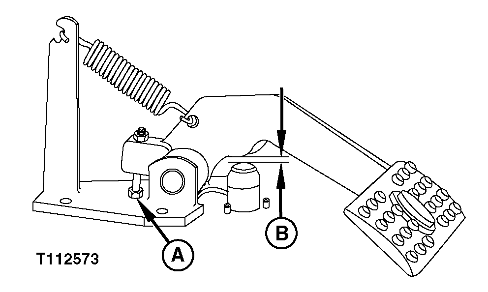
Brake Pedal Adjustment

1. Adjust pedal stop cap screw (A) until correct brake pedal clearance (B) is achieved.

Specification

Brake Pedal To Brake Valve Plunger -Clearance 0.9 ± 0.4 mm (0.035 ± 0.015 in.)

2. Tighten lock nut.


A-Pedal Stop Cap Screw
B-Brake Pedal Clearance

T112573

CED,OUO1079,170 -19-13APR00-1/1