648G-III Grapple Skidder Dimensions

T8393AD

NOTE: Specifications and design subject to change without notice. Whenever applicable, specifications are in accordance with ICED and SAE standards. Except where otherwise noted, these specifications are based on a unit with roll-over protective structure, full fuel tank,

80 kg (175 lb) operator, and standard equipment.

NOTE: Side view dimensions are for machine equipped with 28L-26 12 PR LS2 tires and adjustable log arch.

Item Measurement Specification

A-Maximum Boom Height (Single Function)

Height 3195 mm (10 ft 6 in.)

A-Maximum Boom Height (Dual Function)

Height 3680 mm (12 ft 9 in.)

B-Overall Length (Single Function)

Length 7230 mm (23 ft 8.6 in.)

B-Overall Length (Dual Function)

Length 7345 mm (24 ft 1 in.)

C-Overall Height

Height 3030 mm (9 ft 11 in.)

C-Overall Height with Factory-Installed Water Tank

Height 3190 mm (10 ft 5 in.)

D-Maximum Blade Lift Above Ground

Height 1310 mm (4 ft 4 in.)

CED,OUO1079,200 -19-14APR00-1/3


Item Measurement Specification

E-Maximum Blade Dig Below Ground

Depth 367 mm (1 ft 2.4 in.)

F-Front Axle to Front of Machine

Distance 1685 mm (5 ft 6 in.)

G-Front Axle To Blade Cutting Edge Arc

Distance 2292 mm (7 ft 6 in.)

H-Front Axle to Articulation Joint

Distance 1727 mm (5 ft 8 in.)

I-Wheelbase (Single Function)

Distance 3430 mm (11 ft 3 in.)

I-Wheelbase (Dual Function)

Distance 3683 mm (12 ft 1 in.)

J-Reach of Grapple at Ground Level (Single Function)

Distance 2243 mm (7 ft 4.3 in.)

J-Reach of Grapple at Ground Level (Dual Function)

Distance 1536 mm (5 ft 1 in.)

K-Height of Grapple from Ground Level (Single Function)

Height 908 mm (2 ft 7 in.)

K-Height of Grapple from Ground Level (Dual Function)

Height 1376 mm (4 ft 6 in.)

CED,OUO1079,200 -19-14APR00-2/3


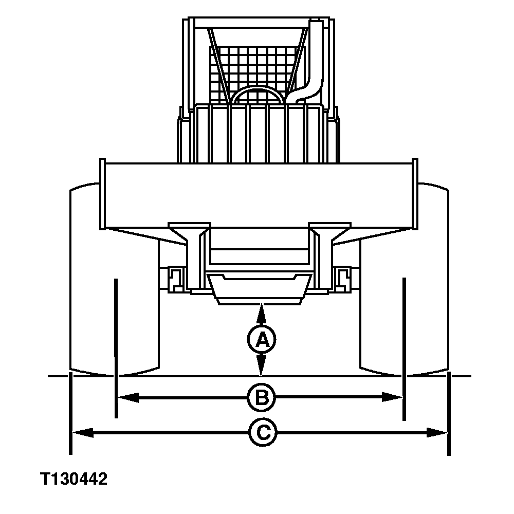
T130442
Item Measurement Specification

Tire-28L-26

Ground Clearance 514 mm (20.2 in.)
Wheel Tread 2.4 m (7 ft 10.5 in.)
Overall Width 3.11 m (10 ft 2.5 in.)

Tire-24.5-32

Ground Clearance 598 mm (23.5 in.)
Wheel Tread 2.49 m (8 ft 2 in.)
Overall Width 3.11 m (10 ft 2.5 in.)

Tire-30.5-32

Ground Clearance 615 mm (24.2 in.)
Wheel Tread 2.46 m (8 ft 1 in.)
Overall Width 3.23 m (10 ft 7.5 in.)

Tire-28L-26 (Narrow Gauge)

Ground Clearance 514 mm (20.2 in.)
Wheel Tread 2.29 m (7 ft 6.5 in.)
Overall Width 3.01 m (9 ft 10.5 in.)

Tire-24.5-32 (Narrow Gauge)

Ground Clearance 598 mm (23.5 in.)
Wheel Tread 2.26 m (7 ft 5 in.)
Overall Width 2.88 m (9 ft 5.5 in.)

CED,OUO1079,200 -19-14APR00-3/3