Lubricate Damper, Yoke, and Crosshead Pins-If Equipped

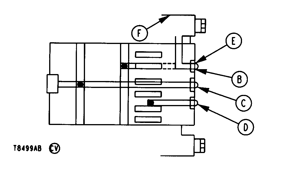
IMPORTANT: If damper spline grease fitting (D) is not greased at proper interval, premature spline failure could occur.

If grease fitting does not accept grease, make sure the grapple head is on the ground before attempting to lubricate again.

NOTE: Using (A) as a locating point on damper, lubricate the four fittings until grease escapes at joints.

Lubricate eight points until fresh grease escapes at joints.


A-Top Locating Point
B-Bushing Next to Damper Assembly Grease Fitting
C-Damper Head Outer Bushing Grease Fitting
D-Damper Spline Grease Fitting
E-Brake Plate Grease Fitting
F-Damper Brake Assembly

T8496AD
T8499AB

Cross Section of Upper Damper Pin

T102161

Lower Pin

TX,60,JC1354 -19-25APR00-1/1