-
Raise mower deck.
-
Park the machine safely. (See Parking Safely in the Safety section.)
-
Lock the service latch on both of the lift arms.
-

TCAL46554-UN-12APR13
Decal of cutting heights.
Choose the desired cutting height from those shown on the
decal on the front of the mower deck.
-

TCAL46555-UN-12APR13
Remove the retainer ring (A) from the hanger pin (B) on the
rear hanger plate (C) on left and right side of mower deck.
-
Move each hanger pin to the correct hole for the cutting height
chosen from the decal. Secure both hanger pins with retainer rings.
-

TCAL46556-UN-12APR13
Support the caster wheel (D) with one hand while removing
the quick-lock pin (E) and spacer guard (F).
-
Remove the spacers (G) from the top of the caster wheel pivot
shaft.
-

TCAL46557-UN-12APR13
Lower the caster wheel out of the caster wheel bracket (H),
making sure the flat washer (I) stays with caster wheel pivot shaft.
-
Position caster wheel bracket (H):
-

TCAL46558-UN-12APR13
If normal cutting
height range will be from 25 to 102 mm (1 to 4 in.), position caster
wheel bracket (H) in up position.
-

TCAL46559-UN-12APR13
If normal cutting
height will be from 64 to 140 mm (2-1/2 to 5-1/2 in.), position caster
wheel bracket (H) in down position.
-
Move caster wheel bracket to correction position:
-
Remove two mounting cap screws (J), spacers, and nuts.
-
Rotate bracket 180°.
-
Install cap screws (J) but do not tighten completely until caster
wheel is assembled and weight of mower deck is back on caster wheel.
-
Install caster wheel back into caster wheel bracket, making
sure flat washer (I) remains in place.
-

TCAL46560-UN-12APR13
Decal (K) of caster wheel bracket in low range
position.

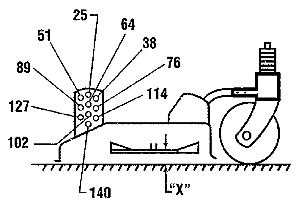
TCAL46561-UN-12APR13
Note: Decal (K) of caster wheel bracket in high
range position.
Use the decal (K) on the mower deck to determine the number
of spacers needed to set cutting height (X).
-

TCAL46562-UN-12APR13
Align slot in spacer (L) with the machined groove on shaft
(M) and install spacer.
-
Place the remaining spacers on the caster pivot shaft above
the wheel bracket.
-
Install the spacer guard on top of the spacers and lock in place
with the quick-lock pin.
-
Unlock the service latches and lower mower deck to the ground.
-
Tighten cap screws on caster wheel bracket.