-
Park machine safely. (See Parking Safely in the SAFETY section.)
-
Lower the mower deck to the ground.
-
Check tire pressures on all machine tires.
-
Inflate all tires to correct pressure. (See machine Service
Intervals label for pressures.)
-
Set the mower decks at the desired cutting height.
-
Check that the front mower deck caster wheels and rear hangers
are all set to the same height.
-
CAUTION: Blades are sharp. Always wear gloves when handling
blades or working near blades.
Turn the blades until parallel to the front axle.
-

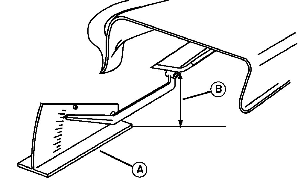
TCAL46563-UN-12APR13
A convenient leveling gauge (A), AM130907, is available
from your John Deere dealer.
Measure distance from tip of outside blade (B), to the ground.
Repeat for outer blade on other side of deck.
-
Turn outer mower blades to face front-to-rear.
-
Measure height of front and rear of blades to ground. Repeat
for outer blade on other side of deck.
-
The blade cutting heights should be level side-to-side.
-
The blade height must be 3—6 mm (1/8—1/4 in.) higher
in the rear.
-
The blade tip height must match the cutting height setting.
-
Adjust the anti-scalp wheel so height of wheel is 6 mm (1/4
in.) above the ground when on a level surface.