Trim Discharge Chute
60 in. MOD Deck
-

TCT012321-UN-12FEB15
Cut along scribe line (A) and drill at hole locations (B)
if present. The following instructions are for discharge chutes without
the scribe and drill lines.
-

TCAL45486-UN-08APR13
Top image shows parts installed for clarity only.
Begin at point (A) and measure distance (B) as shown. Scribe
a mark (C).
-
Measure distance (D) beginning from hinge side of guard as shown.
Scribe a mark.
-
Begin at point (C) and measure distance (E) as shown. Scribe
a mark.
-
Using an appropriate tool, measure and mark a 45° angle
line (F).
-
Extend remaining lines from marks so they meet at a 90°
angle and identify the area (G) as shown.
-
Remove area (G) using a suitable cutting tool.
|
Distance (B)..............270.00 ± 0.80 mm (10.62 ±
0.03 in.)
|
|
Distance (D)..............100.00 ± 0.80 mm (3.93 ±
0.03 in.)
|
|
Distance (E)..............110.00 ± 0.80 mm (4.33 ±
0.03 in.)
|
Install Patch on Discharge Cutout
-
IMPORTANT: Rubber hinge must be installed on top of metal plate
to function properly. Insert pan head screws on metal
plate side and nuts on rubber hinge side. Tighten joint by turning
screw while holding nut to prevent tearing rubber hinge.

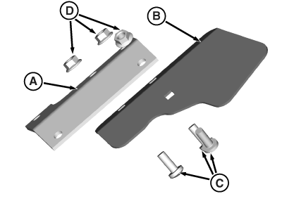
TCT012327-UN-16APR15
Install rubber hinge (A) on top of metal plate (B) using
three M6x16 pan head screws (C) and M6 flange nuts (D).
-

TCT012328-UN-16APR15
Position the metal plate hinge assembly onto the chute, where
the cutout is and drill two 6.35 mm (1/4 in.) holes (E) through the
chute where the rubber hinge indicates.
-
Bolt rubber hinge on top of chute with two M6x16 pan head screws
and M6 flanged nuts.
60SD and 72SD Decks
-

TCT012322-UN-12FEB15
Cut along scribe line (A) if present. The following instructions
are for discharge chutes without the raised scribe lines.
-

TCAL45488-UN-08APR13
Top image shows parts installed for clarity only.
Begin at point (A) and measure distance (B) as shown. Scribe
a mark (C).
-
Measure distance (D) beginning from hinge side of guard as shown.
Scribe a mark.
-
Begin at point (C) and measure distance (E) as shown. Scribe
a mark.
-
Extend lines from both marks so they meet at a 90° angle
and identify the boxed area (F) as shown.
-
Remove boxed area (F) using a suitable cutting tool.
|
Distance (B)..............423.00 ± 0.80 mm (16.65 ±
0.03 in.)
|
|
Distance (D)..............101.6 ± 0.80 mm (4.0 ± 0.03
in.)
|
|
Distance (E)..............200.00 ± 0.80 mm (7.87 ±
0.03 in.)
|
Install Patch on Discharge Cutout
-
IMPORTANT: Rubber hinge must be installed on top of metal plate
to function properly. Insert pan head screws on metal
plate side and nuts on rubber hinge side. Tighten joint by turning
screw while holding nut to prevent tearing rubber hinge.

TCT012319-UN-11FEB15
Install rubber hinge (A) on top of metal plate (B) using
three M6x16 pan head screws (C) and M6 flange nuts (D), with the rubber
hinge on top of the metal bracket.
-

TCT012318-UN-10FEB15
Position the metal plate hinge assembly onto the chute, where
the cutout is and drill three 6.35 mm (1/4 in.) holes (A) through
the chute where the rubber hinge indicates.
-
Bolt rubber hinge on top of chute with three M6x16 pan head
screws and M6 flanged nuts.
|
|
MX52301,0000A02-19-20150325
|
|