-
Raise or remove seat.
-

TCT009693-UN-10JAN14
Cut through label (A) to expose hole (B) for switch.
-

TCT009694-UN-10JAN14
Install switch (C) into panel.
NOTE: Switch must have notch facing towards the operator.
-
Remove and retain five screws (D). Carefully remove panel (E)
from console and set aside.
-

TCT011396-UN-12AUG14

TCT011398-UN-22AUG14
Connect switch to connector (F). Connect connector (G) from
MCS harness to connector (H) from main wiring harness.
-

TCT009697-UN-25AUG14
Route front harness (J) along main harness (I). Secure to
main harness with tie straps (M).
-
To ground stud remove nut (K) and install ring terminal (L)
of black wire.
-
Plug connector into switch installed earlier.
-
Install panel to console with five screws removed earlier.
-

TCT009698-UN-25AUG14
Continue to route front harness (O) along main harness and
secure with tie straps.
-
Insert front harness into P-clip (N) as shown.
-

TCT011390-UN-25AUG14
Install ring terminal of red wire (P) to starter terminal.
-

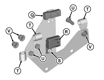
TCT009695-UN-25AUG14
Assemble harness plate:
-
NOTE: Connectors (Q) and (R) come taped to the harness. Cut
them from the harness and install as shown. These connectors are used
for storing harness plugs when MCS is removed.
Snap connector (Q) into top two holes of plate.
-
Secure connector (R) to plate with M6 self-tapping screw (S).
-
Install three P-clips (T) to plate as shown. Secure with three
M8x20 hex head bolts (U) and M8 locknuts (V).
-

TCT009696-UN-25AUG14
Install harness plate to vehicle:
-
Remove and retain carriage bolt and nut (W) from filter head.
-
Position plate over holes in frame. Loosely secure plate to
frame with M8x25 carriage bolt (X) and M8 locknut (Y).
-
Install carriage bolt and nut (L) removed earlier.
-
Tighten hardware.
-
IMPORTANT: MCS side connectors (aa) will be connected later.

TCT010460-UN-25AUG14
Plug in machine side connectors (Z). Connectors (bb) will
come in on wire harness, taped to harness. Cut from harness and install
as shown on bracket. (these connectors are used for storing harness
plugs when MCS is removed).
-
Route harness (aa) through p-clamp (cc).