Adjusting Mower Deck - All Models
CAUTION: Rotating blades are dangerous. Before adjusting or
servicing mower:
-
Disconnect spark plug wire(s) or battery negative (-) cable
to prevent engine from starting accidently.
-
Always wear gloves when handling mower blades or working near
blades.
NOTE: Mower deck anti-scalp wheels should not contact the ground
while adjusting deck.
-
Park machine safely. (See Parking Safely in the SAFETY section.)
-
Inflate tires to the correct pressure and be sure that left
and right tire pressures are equal.
-
Raise the mower deck to the transport position.
-
Inspect mower blades for:
-
Blade sharpness.
-
Blade damage.
-
Bent blades.
Checking Level (Side-to-Side)
NOTE: Mower deck anti-scalp wheels should not contact the ground.
-

TCT007077-UN-10NOV13
Adjust height of cut knob (A) to align cut height position
3 (B) to index mark (C).
-

TCT007074-UN-10NOV13
Confirm cutting height is at position 3, by checking that
the deck height position finger (D) on the lift shaft is aligned with
the lobe labeled 3.
-

TCT007075-UN-16OCT13
Turn and hold left blade (B) as shown. Turn right blade as
shown.
-
NOTE: Use a short ruler or a leveling gauge (Part No. AM130907)
(C) to check the mower blade level.

TCAL43467-UN-21MAR13
Discharge chute raised for photo clarity.
Measure distance (D) from the blade tip to the ground on
LH and RH blades.
-
The blade tips should measure within specification of each other.
| Item | Measurement | Specification |
|
Left and Right Blade Height Difference | Distance | 1/8 in. (3 mm) |
-

TCAL43468-UN-21MAR13
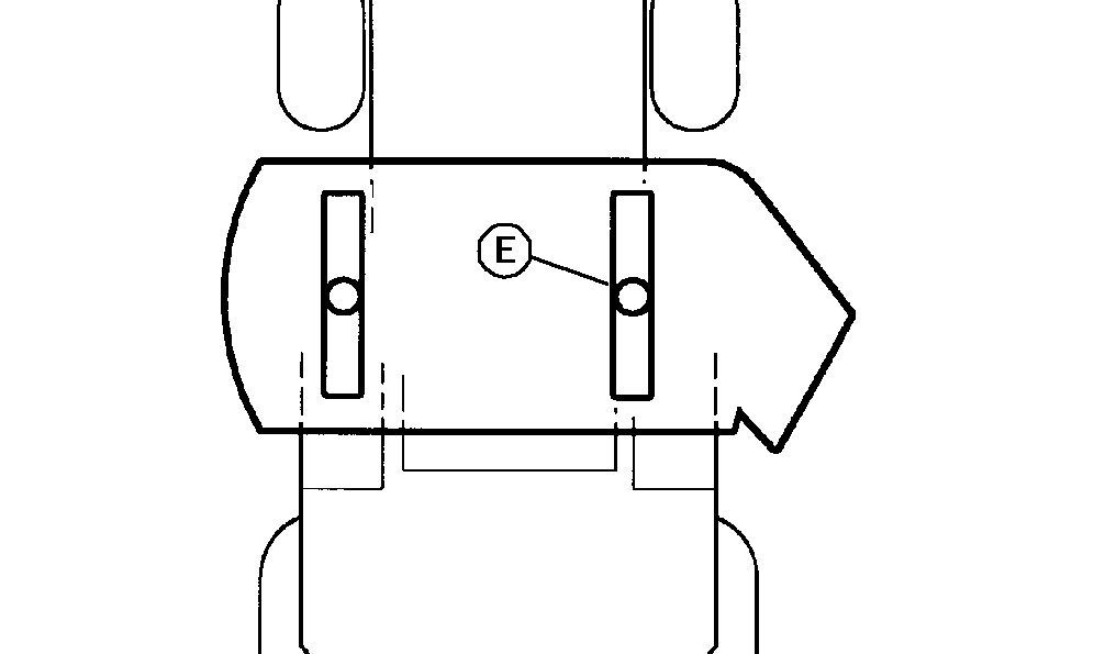
Turn right blade (E) so blade tip points straight forward.
Position left mower blade in the straight forward (front-to-rear)
position.
-
Measure distance (D) from left front blade tip to the ground.
The front blade tip should be within specification from the ground.
| Item | Measurement | Specification |
|
Left and Right Front Blade Tip | Distance | 76 mm (3 in.) (+/- 2 mm [1/16 in.]) |
-
If the blade tip height is not within the given tolerance then
further adjustment is necessary.
Adjusting Blade Tip Height

TCAL43469-UN-21MAR13
-
Loosen jam nut (C).
-
Turn rod tube (D) on each side of machine to adjust as needed
so the left and right blade tips meet specification.
| Item | Measurement | Specification |
|
Left and Right Front Blade Tip | Distance | 76 mm (3 in.) (+/- 2 mm [1/16 in.]) |
-
Tighten jam nut (C).
Checking Blade Rake (Front to Rear Height)
-
NOTE: If an adjustment was made to the front blade tip height,
the blade rake will need to be checked.
Lower mower deck to 76 mm (3 in.) cutting height position.
-
Position right mower blade (discharge side) in straight forward
(front-to-rear) position.
-
Measure from the right front blade tip to the ground.
-
Turn blade one hundred eighty degrees and measure from right
rear blade tip to the ground.
-
NOTE: Use a short ruler or a leveling gauge (Part No. AM130907)
(A) to check the mower blade level.

TCAL43470-UN-21MAR13
The height (E) of the rear blade tip should be 3-6 mm (1/8-1/4
in.) higher than the front blade tip.
-
Repeat steps 1-5 for left blade
-
If the blade rake is not within the given tolerance then further
adjustment is necessary.
Adjusting Blade Rake (Front-to-Rear)

TCAL43471-UN-21MAR13
-
Loosen rear hanger jam nut (F).
-
Turn tube nut (G) at rear hangers to adjust front-to-rear level.
-
The rear of the blade tips should be 1/8-1/4 in. higher than
front.
-
Tighten jam nuts to specification.
| Item | Measurement | Specification |
|
Jam Nut | Torque | 67 N·m (50 ft-lb) |
-
Check blade rake. Repeat adjustment if needed.
|
|
MX00654,0000185-19-20131112
|
|