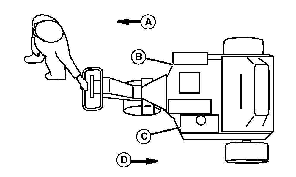
Determining Travel Direction

TCAL41067
TCAL41067-UN-18JAN13

A - Forward

B - Right Side

C - Left Side

D - Transport


Right and left sides are determined by facing in the direction the machine will travel when going forward.

OUO1082,000659E-19-20130215