Stay Clear of Rotating Drivelines

TS1644-UN-22AUG95

H96219-UN-29APR10
Entanglement in rotating driveline can cause serious injury
or death.
Keep tractor master shield and driveline shields in place at
all times. Make sure rotating shields turn freely.
Only use power take-off driveshafts with adequate guards and
shields.
Wear close fitting clothing. Stop the engine and be sure that
PTO driveline is stopped before making adjustments, connections, or
cleaning out PTO driven equipment.
Do not install any adapter device between the tractor and the
primary implement PTO driveshaft that will allow a 1000 rpm tractor
shaft to power a 540 rpm implement at speeds higher than 540 rpm.
Do not install any adapter device that results in a portion
of the rotating implement shaft, tractor shaft, or the adapter to
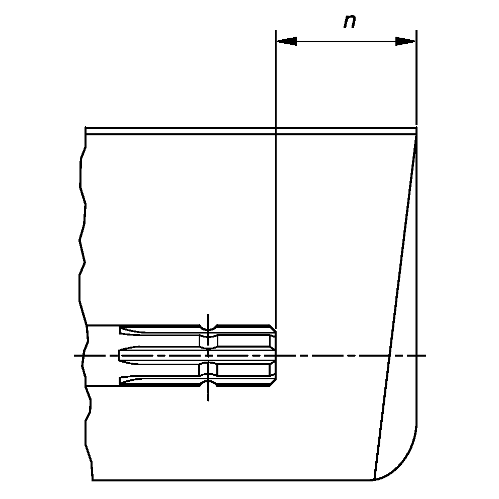
be unguarded. The tractor master shield shall overlap the end of the
splined shaft and the added adaptor device as outlined in the table.
The angle at which the primary implement PTO driveshaft can
be inclined may be reduced depending on the shape and size of the
tractor master shield and the shape and size of the guard of the primary
implement PTO driveshaft.
Do not raise implements high enough to damage the tractor master
shield or guard of primary implement PTO driveshaft. Detach the PTO
driveline shaft if it is necessary to increase implement height. (See
Attching/Detaching PTO Driveline)
When using Type 3/4 PTO, inclination and turning angles may
be reduced depending on type of PTO master shield and coupling rails.
|
PTO Type
|
Diameter
|
Splines
|
n ± 5 mm (0.20 in.)
|
|
1
|
35 mm (1.378 in.)
|
6
|
85 mm (3.35 in.)
|
|
2
|
35 mm (1.378 in.)
|
21
|
85 mm (3.35 in.)
|
|
3
|
45 mm (1.772 in.)
|
20
|
100 mm (4.00 in.)
|
|
4
|
57.5 mm (2.264 in.)
|
22
|
100 mm (4.00 in.)
|
|