Stay Clear of Rotating Drivelines

TS1644
TS1644-UN-22AUG95

H96219
H96219-UN-29APR10


Entanglement in rotating driveline can cause serious injury or death.

Keep tractor master shield and driveline shields in place at all times. Make sure rotating shields turn freely.

Only use power take-off driveshafts with adequate guards and shields.

Wear close fitting clothing. Stop the engine and be sure that PTO driveline is stopped before making adjustments, connections, or cleaning out PTO driven equipment.

Do not install any adapter device between the tractor and the primary implement PTO driveshaft that will allow a 1000 rpm tractor shaft to power a 540 rpm implement at speeds higher than 540 rpm.

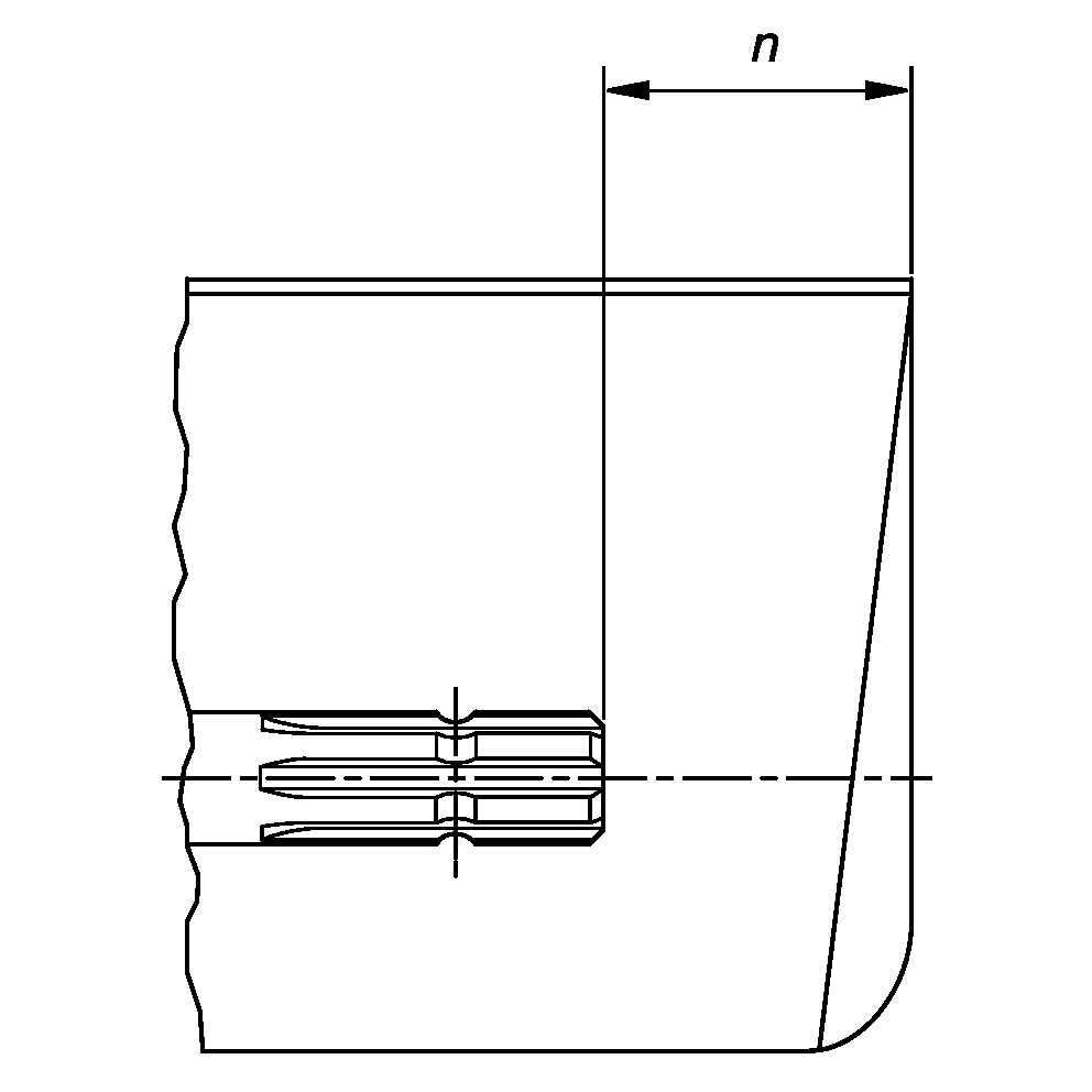
Do not install any adapter device that results in a portion of the rotating implement shaft, tractor shaft, or the adapter to be unguarded. The tractor master shield shall overlap the end of the splined shaft and the added adaptor device as outlined in the table.

The angle at which the primary implement PTO driveshaft can be inclined may be reduced depending on the shape and size of the tractor master shield and the shape and size of the guard of the primary implement PTO driveshaft.

Do not raise implements high enough to damage the tractor master shield or guard of primary implement PTO driveshaft. Detach the PTO driveline shaft if it is necessary to increase implement height. (See Attching/Detaching PTO Driveline)

When using Type 3/4 PTO, inclination and turning angles may be reduced depending on type of PTO master shield and coupling rails.

PTO Type

Diameter

Splines

n ± 5 mm (0.20 in.)

1

35 mm (1.378 in.)

6

85 mm (3.35 in.)

2

35 mm (1.378 in.)

21

85 mm (3.35 in.)

3

45 mm (1.772 in.)

20

100 mm (4.00 in.)

4

57.5 mm (2.264 in.)

22

100 mm (4.00 in.)

DX,PTO-19-20170228