Install Windshield Wiper

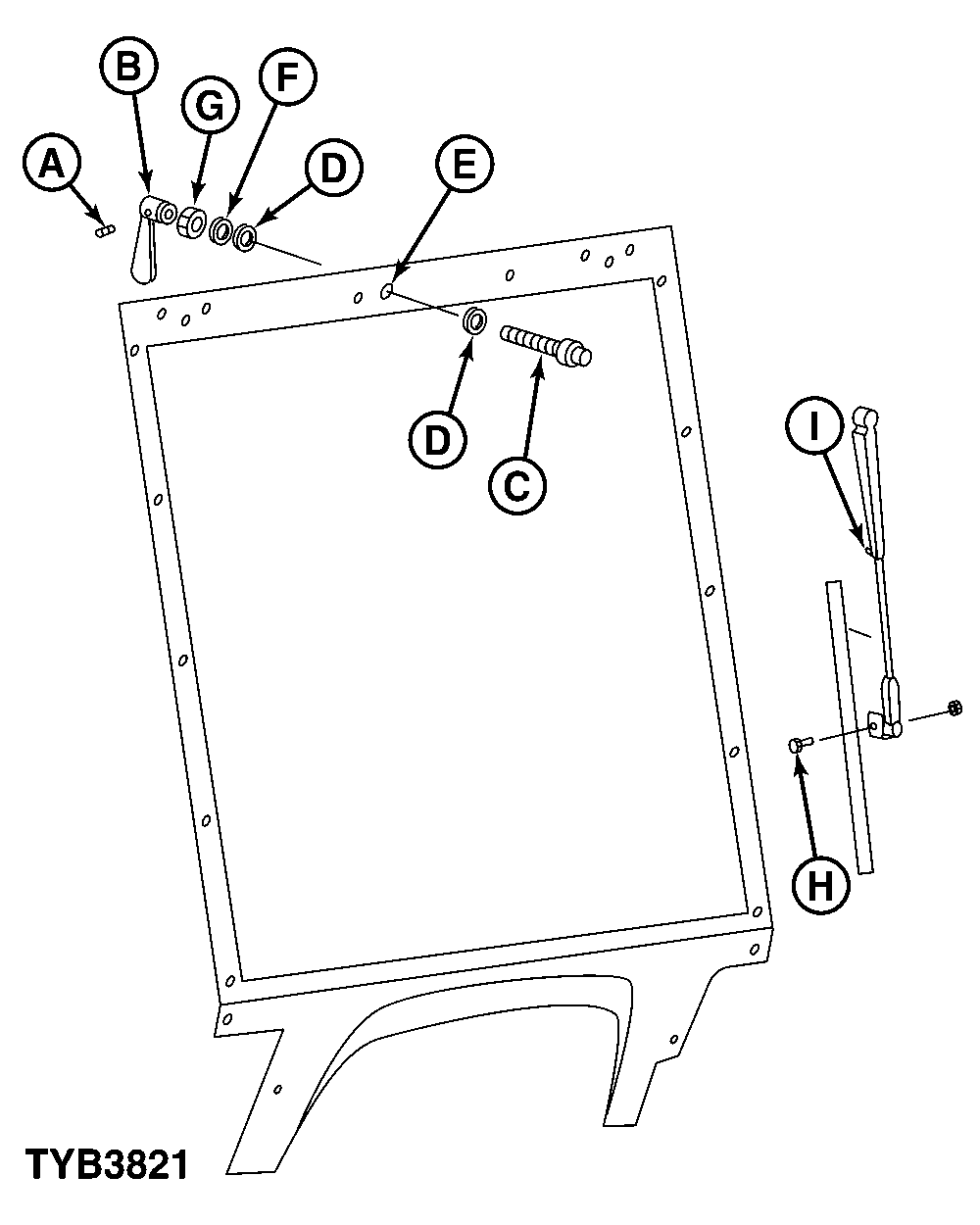
1. Loosen 1/8 in. set screw (A) in handle (B) and disassemble nut and washers from shaft (C). Leave one rubber washer (D) on shaft.

2. Install wiper shaft (C) through windshield frame (E) and secure with second rubber washer (D), steel washer (F) and nut (G) from inside the enclosure.

3. Align handle (B) with blade arm, install, and tighten set screw (A).

NOTE: John Deere Thread Lock and Sealer (Medium Strength) may be applied to set screw threads to improve retention.

NOTE: To replace wiper blade, remove screw (H) at end of blade arm, remove blade, replace with NEW blade. Insert and tighten screw.

4. To adjust wiper cleaning pattern, release extension lock lever (I), slide blade to desired position, and lock lever.


A-Set Screw
B-Handle
C-Wiper Shaft
D-Rubber Washer (2 used)
E-Windshield Frame
F-Steel Washer
G-Shaft Nut
H-Screw, Wiper Replacement
I-Extension Locking Lever

TYB3821

AG,OUOD002,949 -19-22NOV99-1/1