Appoint ou changement d'huile

causym ATTENTION: Un fluide inadéquat peut entraîner une défaillance prématurée du cric, résultant en une perte soudaine et immédiate de la charge. Utiliser uniquement de l'huile pour cric hydraulique de bonne qualité. Éviter de mélanger différents types de fluide. Ne JAMAIS utiliser d'huile moteur, de liquide de frein, d'huile pour turbine, d'huile de transmission ou de glycérine dans le cric.

NOTE: L'huile de transmission/hydraulique John Deere à basse viscosité HY-GARD ™ ou une huile équivalente est l'huile préconisée pour les crics hydrauliques.

Appoint d'huile (selon le besoin)

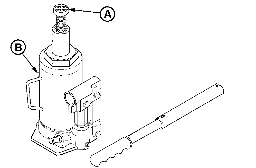
1. Placer le cric en position droite et plane puis abaisser complètement la selle (A).

2. Enlever le bouchon de remplissage d'huile (B).

3. Remplir jusqu'à ce que le niveau d'huile soit au ras du bas du trou du bouchon de remplissage.

4. Remettre en place le bouchon de remplissage d'huile.

Changement de l'huile (tous les ans)

IMPORTANT: Pour de meilleures performances et une durée de vie la plus longue possible, vidanger l'huile complètement au moins une fois par an.

1. Abaisser complètement la selle (A).

2. Enlever le bouchon de remplissage d'huile (B).

3. Placer le cric sur son côté le trou du bouchon de remplissage d'huile vers le bas et vidanger l'huile dans un récipient approprié.

NOTE: Toujours éliminer l'huile pour cric hydraulique suivant les réglementations locales.

4. Remplir jusqu'à ce que le niveau d'huile soit au ras du bas du trou du bouchon de remplissage.

5. Remettre en place le bouchon de remplissage d'huile.

TYB4926

Appoint ou changement d'huile


A-Selle
B-Bouchon de remplissage d'huile

HY-GARD est une marque commerciale de Deere & Company

OUOD006,0000246 -28-02AUG06-1/1