Adjusting Mower Deck - All Models
Rotating blades are dangerous. Before adjusting or
servicing mower:
-
Disconnect spark plug wire(s) or battery negative (-) cable
to prevent engine from starting accidently.
-
Always wear gloves when handling mower blades or working near
blades.
Mower deck anti-scalp wheels should not contact the ground
while adjusting deck.
-
Park machine safely. (See Parking Safely in the SAFETY section.)
-
Avoid machine damage, adjustment will be inaccurate
if tires are not properly inflated.
Inflate tires to the correct pressure and be sure that left
and right tire pressures are equal.
-
Raise the mower deck to the transport position.
-
Inspect mower blades for:
-
Blade sharpness.
-
Blade damage.
-
Bent blades.
Checking Level and Height of Cut
Mower deck anti-scalp wheels should not contact the ground.
-

TCT012782-UN-26JUN15
Adjust height of cut knob (A) to align cut height position
3 (B) to index mark (C).
-

TCT007074-UN-10NOV13
Confirm cutting height is at position 3, by checking that
the deck height position finger (D) on the lift shaft is aligned with
the lobe labeled 3.
-

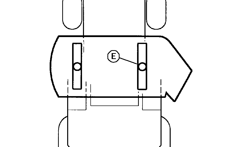
TCAL43468-UN-21MAR13
Turn right blade (E) so blade tip points straight forward.
Position left mower blade in the straight forward (front-to-rear)
position.
-
Use a short ruler or a leveling gauge (Part No. AM130907)
(F) to check the mower blade level.

TCT011308-UN-18JUN15
Measure the distance from (G) on both left and right front
blade tips to the ground. The front blade tip should be within specification
from the ground.
| | |
|
Left and Right Front Blade Tip | Distance | 76 mm (+/- 3 mm) (3 in. +/- 1/8 in.) |
If distance is incorrect See Adjusting Blade Tip Height. If
it is correct, move on to Checking Blade Rake (Front to Rear Height).
Adjusting Blade Tip Height

TCT011316-UN-18JUN15
-
Loosen jam nut (B).
-
Turn rod tube (A) in small increments on each side of machine
to adjust as needed so the left and right blade tips meet specification.
Adjust each side simultaneously, one side then the other in small
increments.
| | |
|
Left and Right Front Blade Tip | Distance | 76 mm (+/- 3 mm) (3 in. +/- 1/8 in.) |
-
Tighten jam nut (B).
Checking Blade Rake (Front to Rear Height)
-
If an adjustment was made to the front blade tip height,
the blade rake will need to be checked.
Lower mower deck to 76 mm (3 in.) cutting height position.
-
Position right mower blade (discharge side) in straight forward
(front-to-rear) position.
-
Measure from the right front blade tip to the ground.
-
Turn blade one hundred eighty degrees and measure from right
rear blade tip to the ground.
-
Use a short ruler or a leveling gauge (Part No. AM130907)
(C) to check the mower blade level.

TCT011309-UN-18JUN15
The height (D) of the rear blade tip should be 3-6 mm (1/8-1/4
in.) higher than the front blade tip.
-
Repeat steps 1-5 for left blade
-
If the blade rake is not within the given tolerance then further
adjustment is necessary.
Adjusting Blade Rake (Front-to-Rear)

TCT011315-UN-18JUN15
-
Loosen rear hanger jam nut (A).
-
Turn tube nut (B) at rear hangers to adjust front-to-rear level.
-
The rear of the blade tips should be 1/8-1/4 in. higher than
front.
-
Tighten jam nuts to specification.
| | |
|
Jam Nut | Torque | 67 N·m (50 ft-lb) |
-
Check blade rake. Repeat adjustment if needed.
|
|
BS62576,0001A82-19-20150619
|
|