Checking and Adjusting Mower Deck Level
CAUTION: Rotating blades are dangerous. Before adjusting or
servicing mower:
-
Disconnect spark plug wire(s) or battery negative (-) cable
to prevent engine from starting accidently.
-
Always wear gloves when handling mower blades or working near
blades.
NOTE: Mower deck wheels should not contact the ground when leveling
the mower deck.
Method One
-
Make sure machine is on a flat, level surface.
-
Park machine safely. (See Parking Safely in the SAFETY section.)
-
Check that tires are inflated to correct tire pressure. Tire
pressure is marked on the side of the tire.
-
Raise deck to highest position.
-

PY24020-UN-13MAY15
107 cm (42 in.) mower deck shown
Place three short 51 mm (2 in.) blocks of wood under the
edges (A) of the mower deck.
-
Lower mower deck to the 63 mm (2.5 in.) cutting height position.
For D130 models, lower deck to 57 mm (2-1/4 in.) cutting height
position.
-
Check that the mower deck is level and lightly touching each
of the three wooden blocks.
-
Raise the cutting height to the next highest position and remove
the three wooden blocks.
-
Turn the nut (C) on the front draft arm counterclockwise 1-2
full turns so that the front of the deck is 3-6 mm (1/8-1/4 in.) lower
than the rear. This adjustment prevents “double cutting,”
which wastes horsepower and causes brown grass tips.
| Item | Measurement | Specification |
|
Mower Deck, Front-to-Back | Height | 1/8-1/4 in. (3-6 mm) |
Method Two
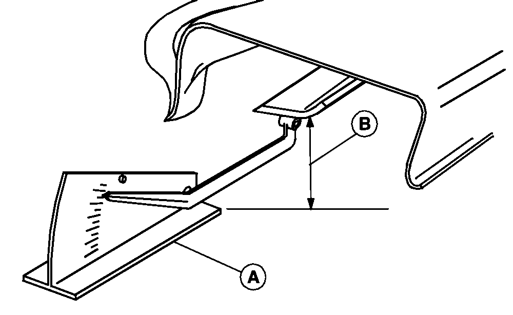
NOTE: An optional mower deck leveling gauge (AM130907) is available
from your John Deere dealer. It allows for precision mower deck leveling
by measuring mower deck level at the blade tips.
-
Make sure machine is on a flat, level surface.
-
Park machine safely. (See Parking Safely in the SAFETY section.)
-
Inflate tires to the correct pressure.
-
Move mower lift handle to preferred cutting height.
-
Measure mower deck level (side-to-side).
-

GXAL41983-UN-04MAR13
A convenient leveling gauge (A) (AM130907) is available
from your dealer.
Position mower blades as follows and measure from each outside
blade tip (B) to the level surface.
-

GXAL41984-UN-04MAR13
Turn left blade (C) as shown. Hold drive belt and turn right
blade (D) as shown. Take measurement for both blades.
The difference between blade measurements must not be more than
specified distance.
| Item | Measurement | Specification |
|
Mower Deck Blade Outside Tips to Ground (Difference) | Distance | 1/8 in. (3 mm) |
-

PY21325-UN-19AUG14
Adjust mower deck level, if necessary, by turning rear nuts
(E) clockwise to raise the side of the mower deck, or counterclockwise
to lower the mower deck.
-
Measure mower level (front-to-rear).
-

GXAL41986-UN-04MAR13
Turn right blade (F) so blade tip points straight forward.
-
Measure from blade tip to the surface. Take measurement for
both blades.
The front blade tip must be specified distance lower than rear
blade tip.
| Item | Measurement | Specification |
|
Mower Deck Blade Outside Tips to Ground (Difference) | Distance | 3–6 mm (1/8 -1/4 in.) |
-

PY24022-UN-13MAY15
107 cm (42 in.) mower deck shown
Adjust mower deck level, if necessary, by turning the nut
(G) counterclockwise to lower the front of deck or clockwise to raise
front of deck.
|
|
RM87422,0000246-19-20150513
|
|