Checking and Adjusting Toe-In
In order to set front wheel toe-in accurately, suspension and
steering components must be in good condition. All fasteners must
be tightened to specification.
-
Park machine safely. (See Parking Safely in the SAFETY section.)
-
Turn steering wheel so that front tires are in straight-ahead
position.
-
Check tire pressure. Adjust to specification if needed (See
SPECIFICATIONS section).
-

MXAL44296-UN-10APR13
Measure front wheel center height (A) from surface.
-
Mark tread centerline (B) and hub center height at front and
back of both front tires.
-

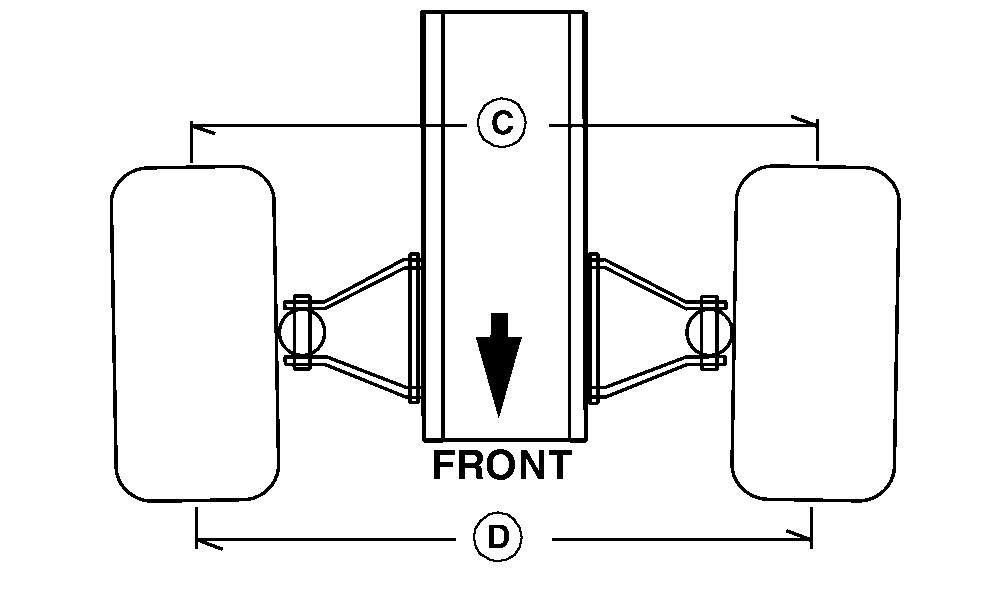
MXAL44297-UN-10APR13
Measure distance (C) between tread centerlines at the rear
of the tires at hub height.
-
Measure distance (D) between tread centerlines at the front
of the tires at hub height.
-
Subtract front measurement from rear measurement and determine
toe-in.
-
Adjust toe-in if not within specification:
| | |
|
Tire Centerline | Distance | 4±3 mm (0.16±0.12 in) |
If the boot clamp (G) is too tight, the steering rack
boot may turn with the tie rod. If the boot rotates, loosen the boot
clamp enough to allow the boot to remain stationary when the tie rod
is turned.
-

MXT019908-UN-01MAR17
Left front side shown.
Loosen nuts (E) on left and right tie rod.
-
Rotate tie rod by placing wrench on hex (F).
-
Loosen boot clamps (G) if boots rotate with tie rod adjustment.
-
Adjust left and right tie rods equally until the toe-in is within
specification.
-
Tighten nuts to specification.
| | |
|
Nuts | Torque | 33—55
N·m (24—41 lb·ft) |
-
Check that front tires do not contact suspension when fully
turned left or right.
|
|
OUMX068,000124B-19-20170301
|
|