Checking and Adjusting Mower Deck Level
Rotating blades are dangerous. Before adjusting or
servicing mower:
- Disconnect spark plug wire(s) or battery negative (-)
cable to prevent engine from starting accidentally.
- Always wear gloves when handling mower blades or working
near blades.
Mower deck wheels should not contact the ground when leveling
the mower deck.
Method One
-
Make sure that machine
is on a flat, level surface.
-
Park machine safely.
(See Parking Safely in the SAFETY section.)
-
Check that tires are
inflated to correct tire pressure. Tire pressure marked on tire sidewall
is usually maximum allowed pressure. (See Tires in the SPECIFICATIONS
section.)
-
Raise deck to highest
position.
-

PY43331-UN-30MAY17
122 cm (48 in.) Mower Deck Shown
Place three short 51 mm (2 in.) blocks of wood under the
edges (A) of the mower deck.
-
Lower mower deck to the
63 mm (2.5 in.) cutting height position.
-
Check that the mower
deck is level and lightly touching each of the three wooden blocks.
-

APY08067-UN-30MAY18
Mower Deck Lift Link

APY08068-UN-30MAY18
If the rear of the mower deck is not touching the rear blocks,
or is sitting heavily on the blocks, adjust the rear lift links by
turning the leveling nut (B) on each lift link. The blocks should
be able to easily slide in and out beneath the mower deck when the
mower deck is correctly adjusted.
- If the front of the mower deck is not lightly touching
the front block, adjust the front draft arm by turning the nut (C).
-
Raise the cutting height
to the next highest position and remove the three wooden blocks.
-
Turn the nut (C) on the
front draft arm counterclockwise 1-2 full turns so that the front
of the deck is 3-6 mm (1/8-1/4 in.) lower than the rear. This adjustment
prevents “double cutting,” which wastes horsepower and causes brown
grass tips.
| | |
| Mower Deck, Front-to-Back | Height | 3-6 mm (1/8-1/4 in.) |
Method Two
An optional mower deck leveling gauge (AM130907) is available
from your John Deere dealer. It allows for precision mower deck leveling
by measuring mower deck level at the blade tips.
-
Make sure that machine
is on a flat, level surface.
-
Park machine safely.
(See Parking Safely in the SAFETY section.)
-
Inflate tires to the
correct pressure.
-
Move mower lift handle
to preferred cutting height.
-
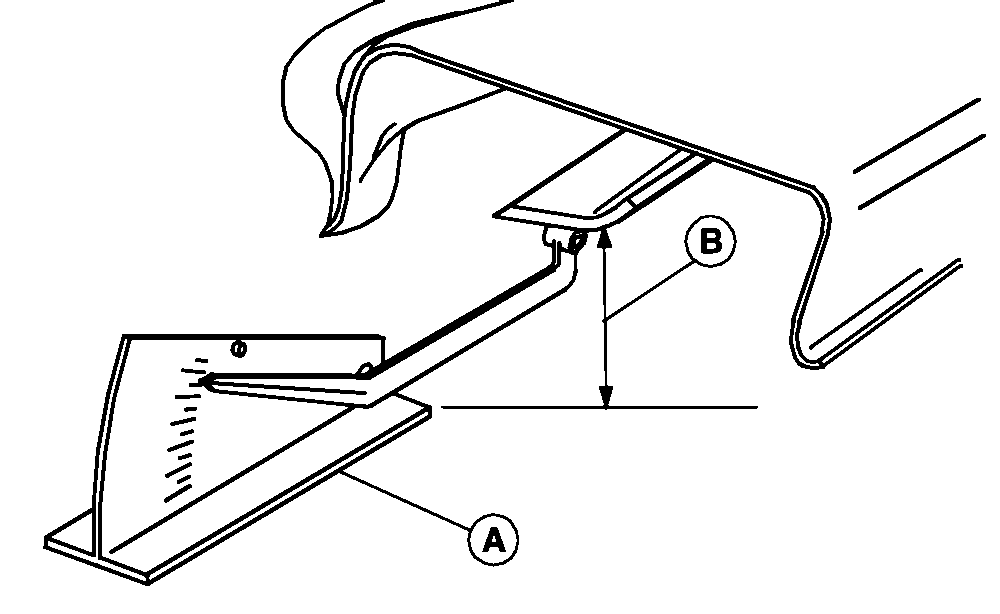
Measure mower deck level
(side-to-side).

GXAL41983-UN-04MAR13
Leveling Gauge (A) (AM130907)
-
Position mower blades
as follows and measure from each outside blade tip (B) to the level
surface.
-

GXAL41984-UN-04MAR13
Turn left blade (C) as shown. Hold drive belt and turn the
right blade (D) as shown. Take measurement for both blades.
The difference between blade measurements must not be more than specified
distance.
| | |
| Mower Deck Blade Outside Tips to Ground (Difference)
| Distance | 3 mm (1/8 in.) |
-

APY08069-UN-30MAY18
Adjust mower deck level, if necessary, by turning rear nuts
(E) clockwise to raise the side of the mower deck, or counterclockwise
to lower the side of the mower deck.
-
Measure mower level (front-to-rear).

GXAL41986-UN-04MAR13
-
Turn right blade (F)
so blade tip points straight forward.
-
Measure from the blade
tip to the surface. Take measurement for both blades.
The front blade tip must be specified distance lower than rear blade
tip.
| | |
| Mower Deck Blade Outside Tips to Ground (Difference)
| Distance | 3–6 mm (1/8 -1/4 in.) |
-

APY08070-UN-30MAY18
107 cm (42 in.) Mower Deck Shown
Adjust mower deck level, if necessary, by turning the nut
(G) counterclockwise to lower the front of deck or clockwise to raise
front of the deck.
|
|
SU68010,00000C3-19-20180710
|
|