520 Loader Capacity and Dimensions

W02871

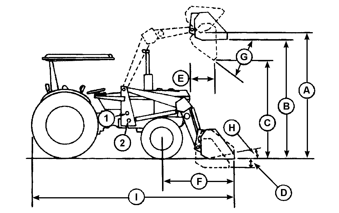
  Cylinder Position (1) Cylinder Position (2)
Tractor Models 5400 2WD 5400 2WD 5500N
Front Tires 7.5-16 7.5-16 9.5-16
Rear Tires 16.9-28 16.9-28 14.9-24
Capacity
Lift Capacity at Full Height 900 kg (1980 lb) 1134 kg (2500 lb) 1134 kg (2500 lb)
Breakout Capacity 12 500 N (2810 lb) 15 000 N (3372 lb) 15 000 N (3372 lb)
Dimensions
(A) Maximum Lift Height 3100 mm (122 in.) 2800 mm (110 in.) 2710 mm (108 in.)
(B) Clearance, Bucket Level 2975 mm (117 in.) 2670 (105 in.) 2560 mm (101 in.)
(C) Clearance, Bucket Dumped 2535 mm (100 in.) 2215 mm (87.2 in.) 2180 mm (85.8 in.)
(D) Digging Depth 280 mm (11 in.) 120 mm (4.7 in.) 220 mm (8.7 in.)
(E) Reach at Full Height, Dumped 364 mm (14.3 in.) 713 mm (28 in.) 750 mm (29.5 in.)
(F) Reach at Ground, Level Bucket 1575 mm (62 in.) 1575 mm (62 in.) 1775 mm (69.8 in.)
(G) Maximum Dump Angle 37.4° 40° 34°
(H) Roll Back on Ground 24° 24° 24°
(I) Overall Length 4370 mm (172 in.) 4370 mm (172 in.) 4370 mm (172 in.)
Highest Point on Loader:
Bucket on the Ground 1530 mm (60 in.) 1530 mm (60 in.) 1440 mm (56.7 in.)
Rolled Back, 300 mm (12 in.) off Ground 1530 mm (60 in.) 1530 mm (60 in.) 1440 mm (56.7 in.)

 

Capacities are shown measured to bucket bottom midpoint, using a 1550 mm (61 in.) bucket. Objects such as round bales or bins on a forklift move the weight out from this point, decreasing lift capacity.

Dimensions are in compliance with ASAE Standard S301.2.

NOTE: (Specifications and design subject to change without notice)

AG,WX20570,122 -19-01JUL98-1/1