Positioning Hitch Pins-Semi-Mount (HX10)

W03525

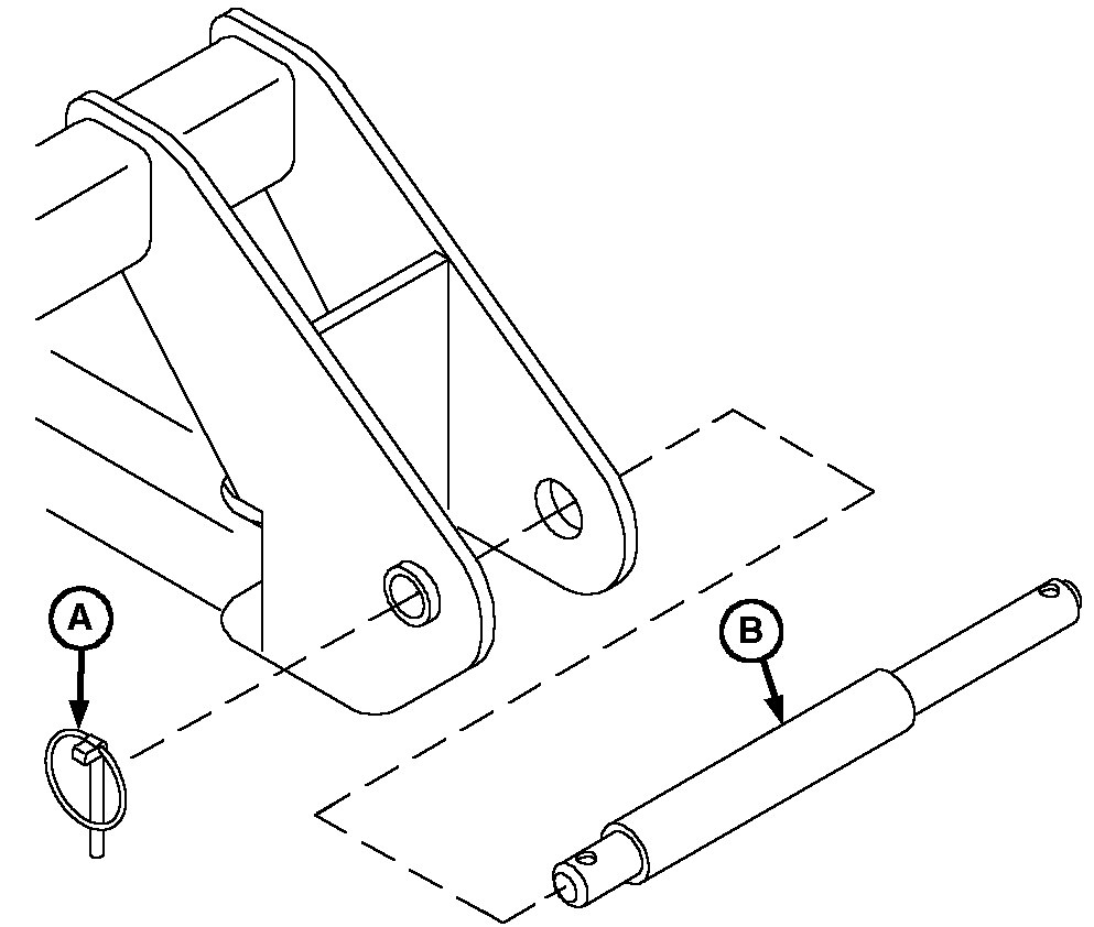
Category 2-Without Quick Coupler

W03526

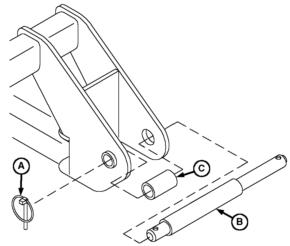
Category 3 With or Without Quick Coupler


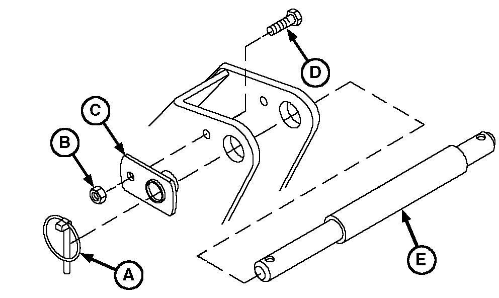
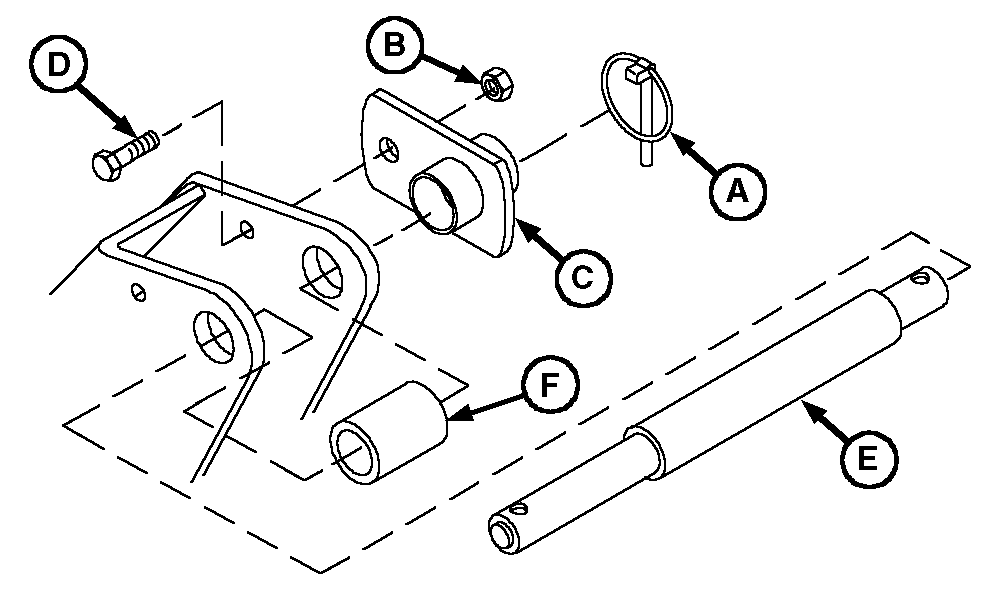
A-Quick-Lock Pin
B-Lock Nut, M10
C-Guide
D-Cap Screw, M10 x 31 mm
E-Hitch Pin
F-Spacer, 1-1/2 x 1.9 x 3 in.

Semi-Mount

NOTE: Install hitch pin assemblies at both masts. Left-hand side shown.

Spacer (F) is not provided with machine. Order two 28H2678 Spacers from service parts.

Bottom illustration shows category 2 with Quick Coupler and category 3N with or without Quick Coupler.

Assemble parts (A-E) and (F), if necessary, according to tractor hitch category.

W03527

(See Third Paragraph of NOTE)

AG,OUMX005,902 -19-28JUN99-1/2


W03528

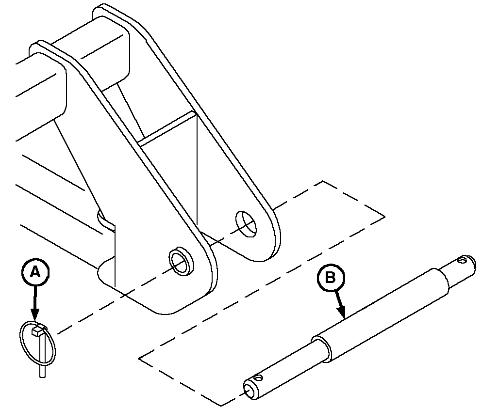
Category 2-Without Quick Coupler

W03529

Category 2 and 3N-With Quick Coupler and Category 3 (both)

Semi-Mount with Hydraulic Offset

NOTE: Install hitch pin assemblies at both ends of hitch. Left-hand side shown.

Spacer (C) is not provided with machine. Order two 28H2678 Spacers from service parts.

Assemble parts (A and B) and (C), if necessary, according to tractor hitch category.


A-Quick-Lock Pin
B-Hitch Pin
C-Spacer, 1-1/2 x 1.9 x 3 in.

W03530

Category 3N-Without Quick Coupler

AG,OUMX005,902 -19-28JUN99-2/2