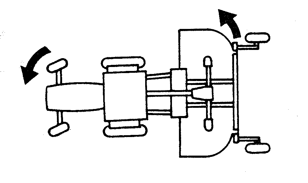
Driving Cutter In Turns

Reduce ground speed.

  • Lift-Type and Semi-Mount (HX10); Makes a large arc when turning.
  • Pull-Type; Be sure tractor wheel does not contact cutter during turns.
W02580

Lift-Type and Semi-Mount (HX10) Hitch

W14399

Pull-Type Hitch

AG,OUMX005,908 -19-28JUN99-1/1