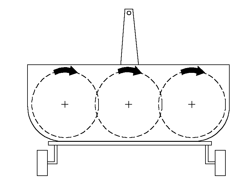
Direction of Blade Rotation

IMPORTANT: Cutters shown are viewed from the top. Take special note of blade rotation shown by arrows.

W14525

HX10

W03542

HX14 (540 rpm)

W03541

HX14 (1000 rpm)

AG,OUMX005,916 -19-29JUN99-1/1