Replacing Blades-HX14

IMPORTANT: Operating with loose blade hardware will damage the blade holder and blades. Whenever the blades have been removed or replaced, the hardware must be retightened after the first eight hours of operation.

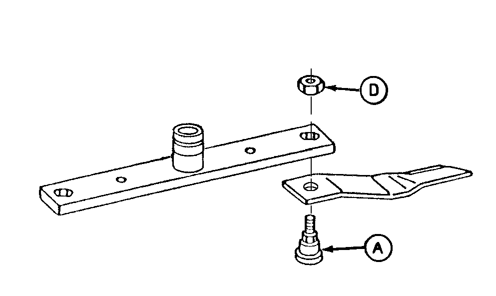
NOTE: Suction blades have cutting edge on one side only. Note blade rotation when installing blades. (See DIRECTION OF BLADE ROTATION in this section.)

Manually rotate driveline to align lock nut (D) with access hole in top of deck. Position torque multiplier, as shown, to replace blades.

Tighten lock nut (D) according to specifications.

Specification

Blade Hardware -Torque 987 N·m (728 lb-ft)


A-Blade Bolt
B-Spacer
C-Washer
D-Lock Nut

W03661

Single Blade

W03633

Dual Blades

W03559

Position to Loosen

W03560

Position to Tighten

AG,OUMX005,922 -19-29JUN99-1/1