Every 8 Hours or Daily

Checking Gear Case Oil Level

NOTE: Perform the following procedures on all three gear cases. Right-hand side, HX14, shown.

Remove dipstick/vent (A). Oil level should be between lines (B). Add John Deere GL-5 GEAR LUBRICANT, or equivalent, if necessary.

Install dipstick/vent.


A-Dipstick/Vent
B-Lines

W03591
W03432

AG,OUMX005,956 -19-06JUL99-1/5


PTO Driveline-Pull-Type
W03592

Driveline-to-Tractor End

W03593

Driveline-to-Intermediate Shaft/Pedestal End

AG,OUMX005,956 -19-06JUL99-2/5


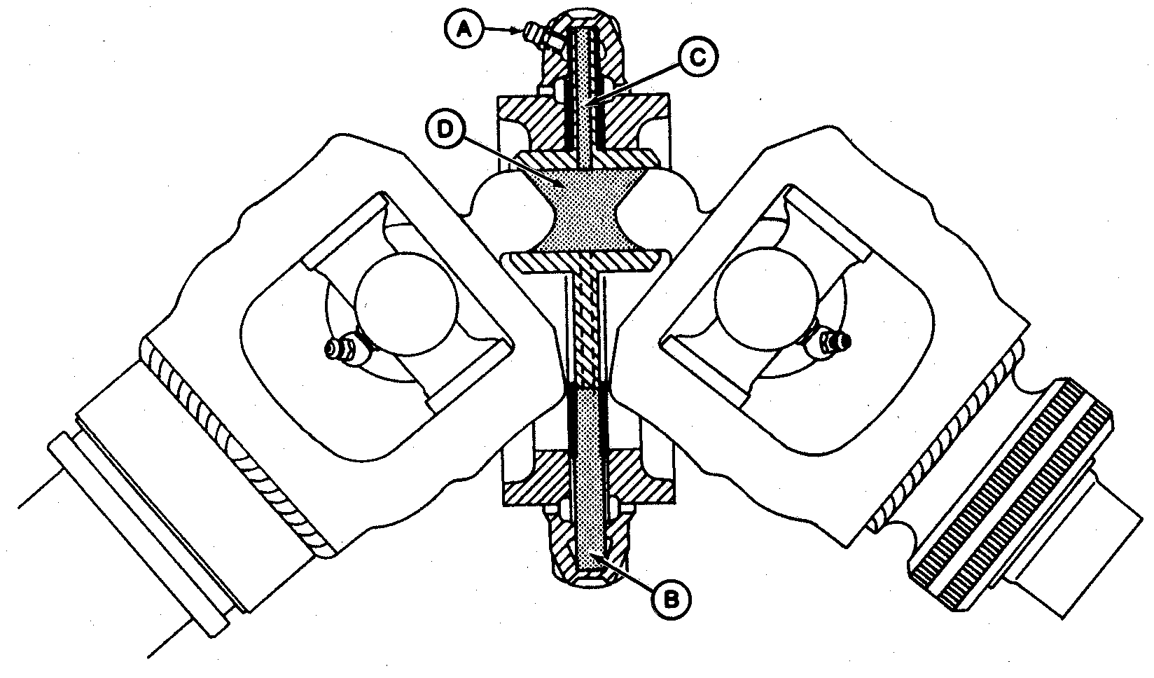
W02577


A-Fitting


B-Cavity


C-Passages


D-Cavity

IMPORTANT: To prevent premature failure, the constant velocity joint requires extensive lubrication after every day of operation. The joint should be lubricated when it is warm or soon after operation.

Using fitting (A), lubricate generously (may take up to 12 shots) to fill cavity (B), forcing grease through passages (C) and into cavity (D). Lubricate until grease is visible around ball joints.

AG,OUMX005,956 -19-06JUL99-3/5


W03594

Driveline-to-Gear Case End

W03596

Driveline Middle

PTO Driveline-Lift-Type and Semi-Mount (HX10)
W03595

Driveline-to-Tractor End

AG,OUMX005,956 -19-06JUL99-4/5


Intermediate Driveline (Pull-Type)
W03597

AG,OUMX005,956 -19-06JUL99-5/5