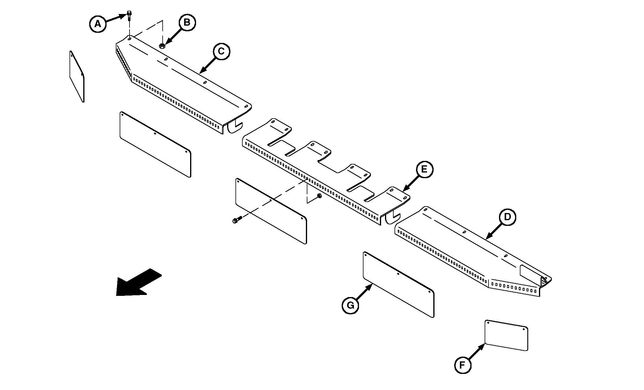
Install Front Solid Cotton Row Shields-HX14 (If Equipped)

W03523


A-Flange Head Cap Screw, M10 x 30 mm (29 used)
B-Lock Nut, M10 (29 used)


C-Right-Hand Shield
D-Left-Hand Shield
E-Center Shield


F-Steel Deflector, Short (2 used)


G-Steel Deflector, Long (2 used)

Tighten all shield mounting hardware AFTER all shields have been installed.

AG,OUMX005,970 -19-09JUL99-1/1