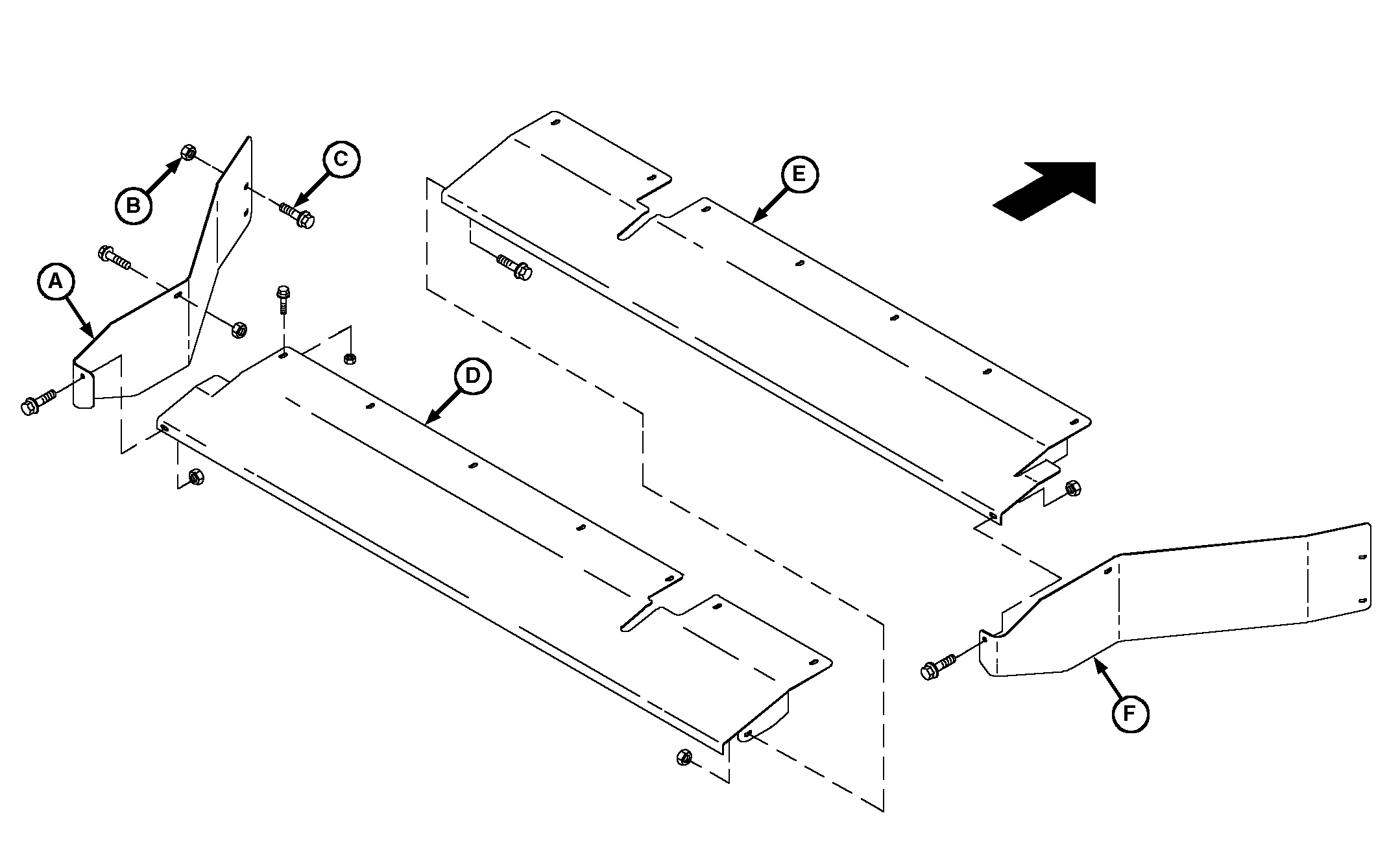
Install Rear Safety Shield (Solid)-HX14

W03520


A-Left-Hand Side Shield
B-Lock Nut, M10 (23 used)


C-Flange Head Cap Screw, M10 x 30 mm (23 used)


D-Left-Hand Shield
E-Right-Hand Shield


F-Right-Hand Side Shield

Tighten all mounting hardware AFTER all shields have been installed.

AG,OUMX005,973 -19-09JUL99-1/1