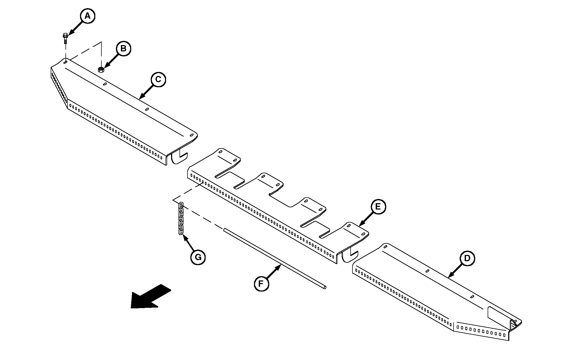
Install Front Safety Shield (Chain)-HX14

W03521


A-Flange Head Cap Screw, M10 x 30 mm (16 used)


B-Lock Nut, M10 (16 used)
C-Right-Hand Shield


D-Left-Hand Shield
E-Center Shield


F-Rod (various sizes)
G-Chain Link (151 used)

Tighten all mounting hardware AFTER all shields have been installed.

AG,OUO1078,249 -19-10NOV99-1/1