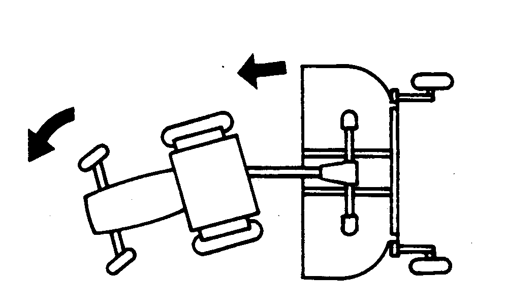
Turning Cutter-Pull-Type

IMPORTANT: When operating the pull-type cutter, be sure tractor tire does not contact cutter hitch when turning.

W14399

W11,2OM,G -19-04APR88-1/1