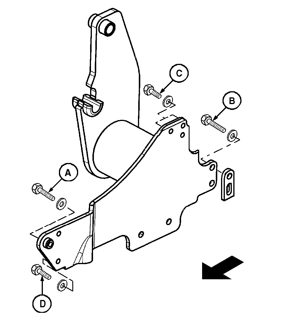
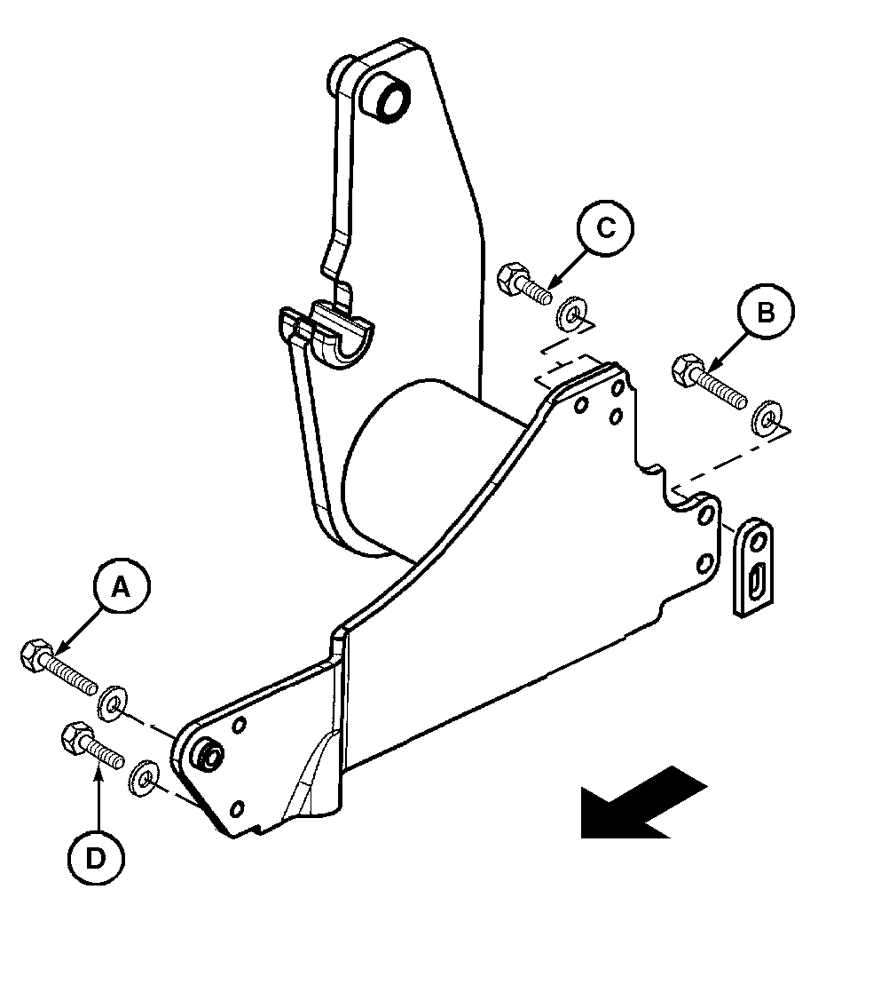
Mounting Frame Hardware-5210, 5310, 5320, 5510, and 5520 Narrow Tractors without Cabs
IMPORTANT:
Help prevent damage to the tractor or loader caused by operating with loose mounting hardware. Tighten loader mounting frame hardware after the first 10 hours of operation and again after every 50 hours.
| Mounting Frame Hardware |
| Location |
Description |
Size |
Torque Specification |
| A |
Cap Screw Flat Washer |
M16 x 70 17 x 34 x 4 mm |
275 N·m (200 lb-ft) |
| B |
Cap Screw Flat Washer |
M20 x 65 21 x 42 x 5 mm |
530 N·m (400 lb-ft) |
| C |
Cap Screw Flat Washer |
M16 x 35 17 x 34 x 4 mm |
275 N·m (200 lb-ft) |
| D |
Cap Screw Flat Washer |
M16 x 50 17 x 34 x 4 mm |
275 N·m (200 lb-ft) |
A-Cap Screw, M16 x 70
B-Cap Screw, M20 x 65
C-Cap Screw, M16 x 35
D-Cap Screw, M16 x 50
|
3-Cylinder Tractors
4-Cylinder Tractors
|