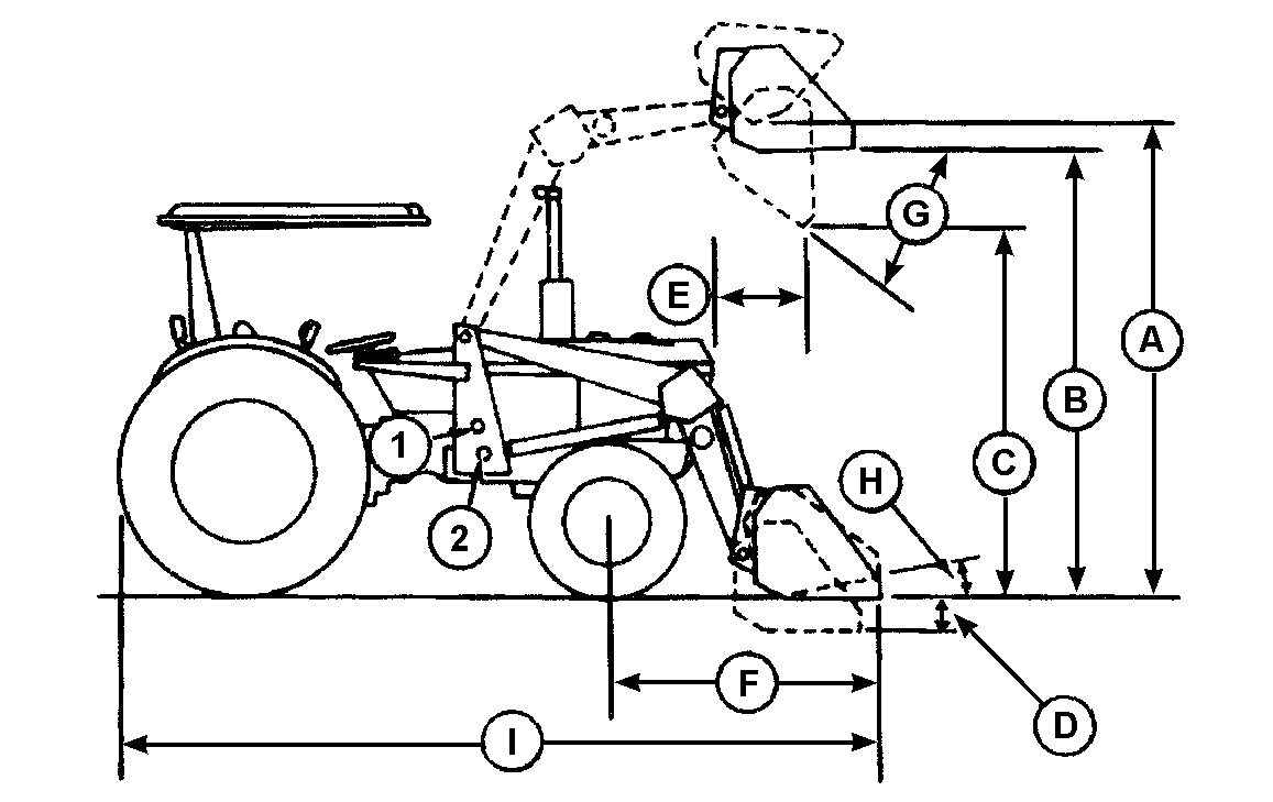
521 Loader (Serial No. -2899) Specifications on 5400 2WD and 5500N Tractors1
|
| |
Cylinder Position (1) |
Cylinder Position (2) |
| Tractors Models |
5400 2WD |
5400 2WD |
5500N |
| Front Tires |
7.5-16 |
7.5-16 |
9.5-16 |
| Rear Tires |
16.9-28 |
16.9-28 |
14.9-24 |
| Capacity |
| Lift Capacity at Full Height |
900 kg (1980 lb) |
1134 kg (2500 lb) |
1134 kg (2500 lb) |
| Breakout Capacity |
12500 N (2810 lb force) |
15000 N (3372 lb force) |
15000 N (3372 lb force) |
| Dimensions |
| (A) Maximum Lift Height |
3100 mm (122 in.) |
2800 mm (110 in.) |
2710 mm (108 in.) |
| (B) Clearance, Bucket Level |
2975 mm (117 in.) |
2670 mm (105 in.) |
2560 mm (101 in.) |
| (C) Clearance, Bucket Dumped |
2535 mm (100 in.) |
2215 mm (87.2 in.) |
2180 mm (85.8 in.) |
| (D) Digging Depth |
280 mm (11 in.) |
120 mm (4.7 in.) |
220 mm (8.7 in.) |
| (E) Reach at Full Height, Dumped |
364 mm (14.3 in.) |
713 mm (28 in.) |
750 mm (29.5 in.) |
| (F) Reach at Ground, Level Bucket |
1575 mm (62 in.) |
1575 mm (62 in.) |
1775 mm (69.8 in.) |
| (G) Maximum Dump Angle |
25° |
39° |
34° |
| (H) Roll Back on Ground |
21° |
21° |
21° |
| (I) Overall Length |
4370 mm (172 in.) |
4370 mm (172 in.) |
4370 mm (172 in.) |
| Highest Point on Loader |
| Bucket on Ground |
1530 mm (60 in.) |
1530 mm (60 in.) |
1440 mm (56.7 in.) |
| Rolled Back, 300 mm (12 in.) off Ground |
1530 mm (60 in.) |
1530 mm (60 in.) |
1440 mm (56.7 in.) |
|
Capacities are shown measured to bucket bottom midpoint, using a 1850 mm (73 in.) bucket. Objects such as round bales or bins on a forklift move the weight out from this point, decreasing lift capacity.
|
Dimensions comply with ASAE Standard S301.2.
|
|
|
OUO6038,00001C2 -19-05DEC00-1/1
|
|