541 Loader Specifications on 5520 MFWD Tractor1

W04157

1(Specifications and design subject to change without notice.)

OUO6077,000138F -19-14FEB01-1/2


  541 Standard Loader 541 Mechanical Self-Level Loader
Tractor Models 5520 MFWD 5520 MFWD
Front Tires 11.2-24 11.2-24
Rear Tires 16.9-30 16.9-30
Capacity
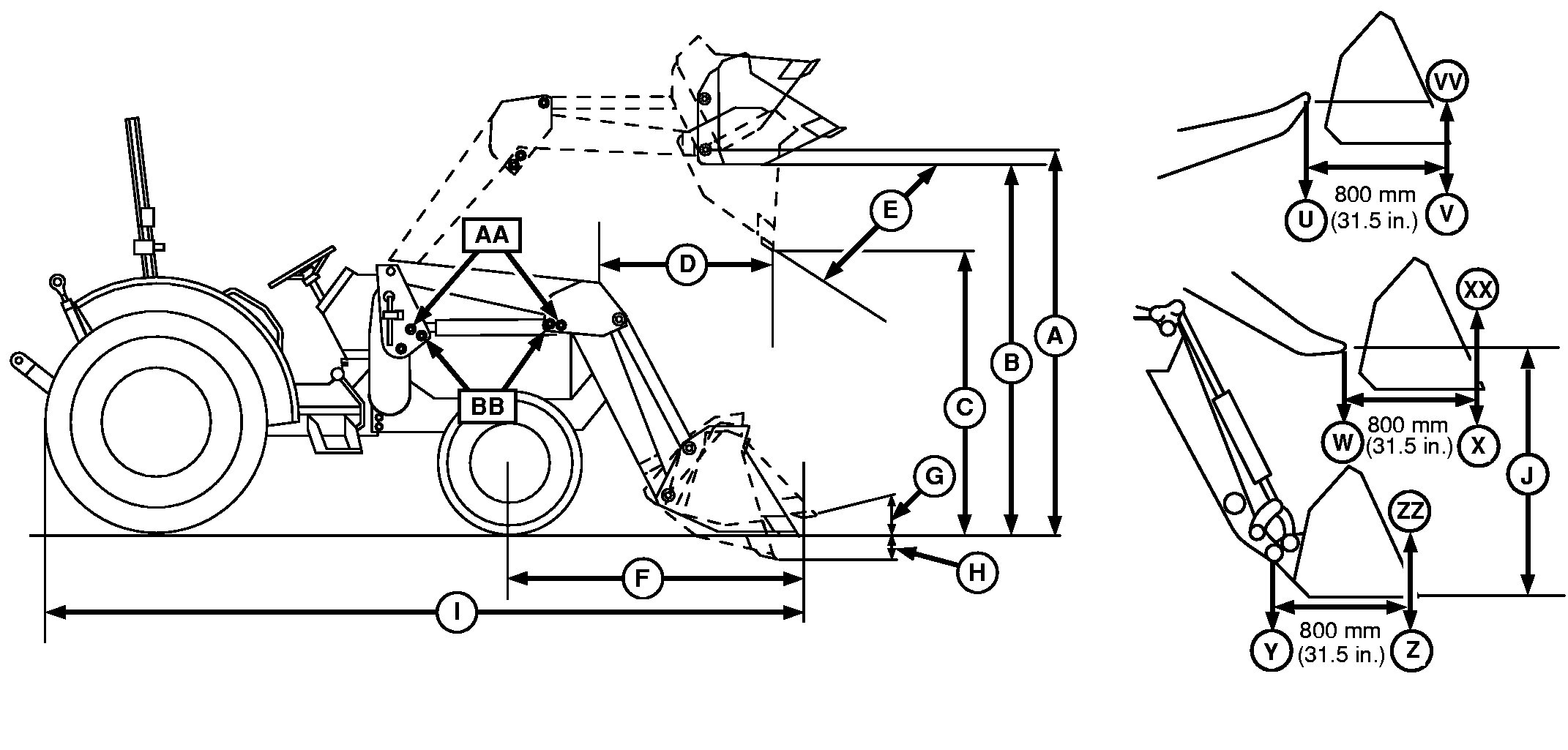
(U) Lift Capacity at Full Height at Pivot Pin 1403 kg (3093 lb) 1458 kg (3214 lb)
(V) Lift Capacity at Full Height 968 kg (2134 lb) 1080 kg (2381 lb)
(W) Lift Capacity at 1448 mm (57 in.) (J) at Pivot Pin 1861 kg (4130 lb) 1800 kg (3969 lb)
(X) Lift Capacity to 1448 mm (57 in.) (J) 1350 kg (2976 lb) 1740 kg (3836 lb)
(Y) Breakout Capacity at Pivot Pin 15 500 N (3484 lb force) 18 400 N (4137 lb force)
(Z) Breakout Capacity 17 300 N (3889 lb force) 20 900 N (4698 lb force)
(VV) Bucket Rollback at Full Height 15 100 N (3394 lb force) 14 100 N (3169 lb force)
(XX) Bucket Rollback at 1448 mm (57 in.) (J) 23 500 N (5283 lb force) 22 500 N (5058 lb force)
(ZZ) Bucket Rollback at Ground 25 500 N (5733 lb force) 23 600 N (5305 lb force)
Dimensions
(A) Maximum Lift Height at Pivot Pin 3236 mm (127 in.) 3350 mm (132 in.)
(B) Clearance, Bucket Level 2986 mm (117.5 in.) 3100 mm (122 in.)
(C) Clearance, Bucket Dumped 2422 mm (95.3 in.) 2537 mm (100 in.)
(H) Digging Depth 258 mm (10 in.) 252 mm (10 in.)
(D) Reach at Full Height, Dumped (45°) 875 mm (34.5 in.) 742 mm (29 in.)
(F) Reach at Ground, Level Bucket 2087 mm (82 in.) 2125 mm (83 in.)
(E) Maximum Dump Angle 80° 86°
(G) Roll Back on Ground 30° 39°
(I) Overall Length 4999 mm (182 in.) 5045 mm (198.6 in.)
Highest Point on Loader
Bucket on Ground 1685 mm (66 in.) 1800 mm (71 in.)
Rolled Back, 300 mm (12 in.) off Ground 1692 mm (66.6 in.) 1883 mm (74 in.)

 

Capacities are shown measured to bucket bottom midpoint, using a 1850 mm (73 in.) bucket. Objects such as round bales or bins on a forklift move the weight out from this point, decreasing lift capacity.

Dimensions are in compliance with ASAE Standard S301.3.

OUO6077,000138F -19-14FEB01-2/2